#浙江协鑫企业管理合伙企业增资至60亿# 增幅约2756%

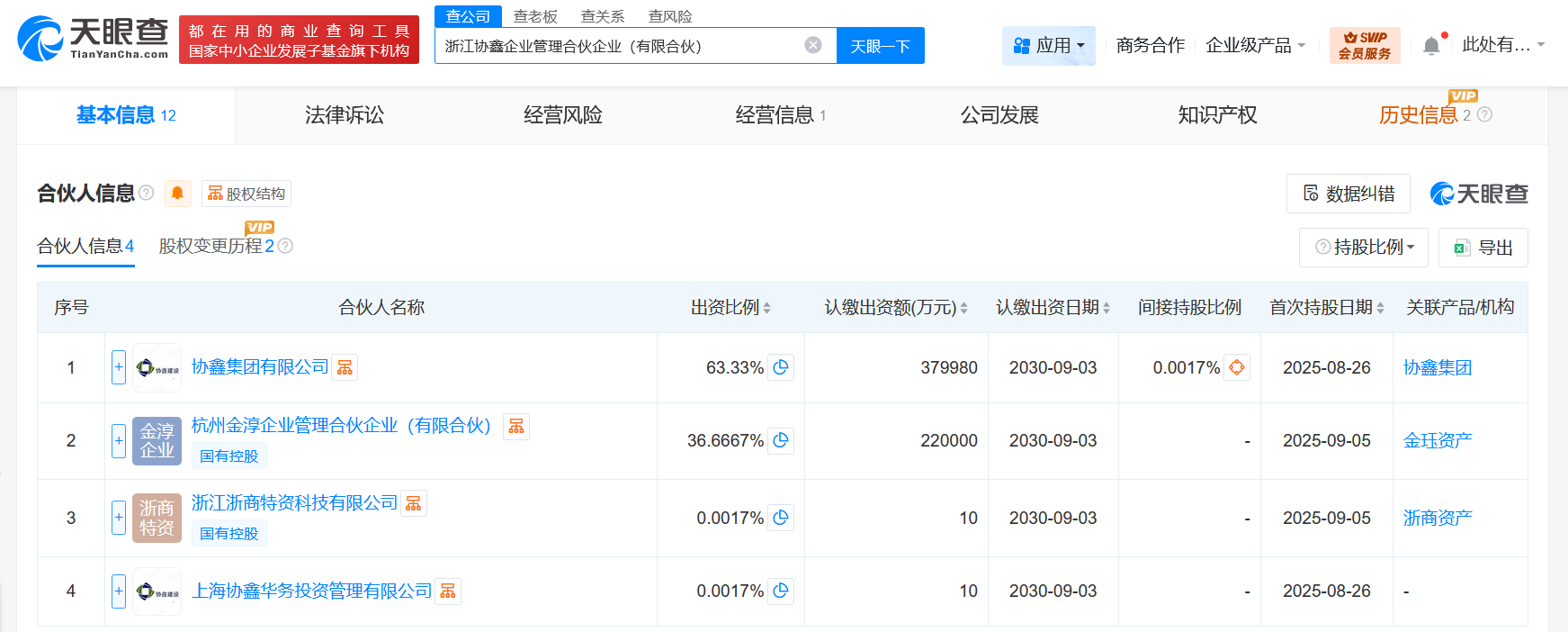
天眼查工商信息显示,近日,浙江协鑫企业管理合伙企业(有限合伙)发生工商变更,新增浙江浙商特资科技有限公司、杭州金淳企业管理合伙企业(有限合伙)为股东,同时,注册资本由约2.1亿人民币增至60亿人民币,增幅约2756%。

#浙江协鑫企业管理合伙企业增资至60亿# 增幅约2756%

#浙江协鑫企业管理合伙企业增资至60亿# 增幅约2756%

#浙江协鑫企业管理合伙企业增资至60亿# 增幅约2756%

该企业成立于2025年8月,执行事务合伙人为上海协鑫华务投资管理有限公司,经营范围为企业管理咨询、市场营销策划、企业管理。合伙人信息显示,该企业由协鑫集团有限公司、上海协鑫华务投资管理有限公司及上述新增股东共同出资。

天眼查信息:https://www.tianyancha.com/company/7697419865

本文来自投稿,不代表创造权威IP 赋能创业者——IP百创立场,如若转载,请注明出处:创造权威IP 赋能创业者——IP百创

(0)
打赏 微信扫一扫 微信扫一扫 支付宝扫一扫 支付宝扫一扫
上一篇 2025年9月10日
下一篇 2025年9月10日

相关推荐

  • 半身特写双出彩!HUAWEI Pura 80 Ultra引领长焦影像革命

    【中国,上海,2025年6月11日】6月11日,华为正式推出影像旗舰手机——HUAWEI Pura 80系列,凭借极致的影像技术和创新能力,再次引领移动影像未来。 HUAWEI Pura 80 Pro+、HUAWEI Pura 80 Ultra带来全新的耀目风向标,以经典的太阳纹为灵感,呈现光芒绽放的太阳饰纹,时刻闪耀。HUAWEI Pura 80 Pro+…

    2025年6月11日
  • 高端化营销为何成“自杀式袭击”:始祖鸟48小时“公关生死局”

    作者| 吴玖玖 编辑| 糖炒山楂 一场在喜马拉雅山脉燃放的烟花,把始祖鸟推上了舆论的风口浪尖。短短48小时舆情急转直下,“尊重自然”的品牌人设被置于公众审视之下。 9月19日,始祖鸟与当代艺术家蔡国强合作,在海拔5500米的西藏高原点燃名为《升龙》的烟花秀,试图以宏大视觉强化高端叙事。活动预热时,品牌还以“向上致美”“走进喜马拉雅”为主题,营造艺术与自然对话…

    行业动态 2025年9月22日
  • 宝沃汽车中国公司再次经营异常

    天眼查App显示,近日,宝沃汽车(中国)有限公司因未依照规定的期限公示年度报告,被北京市密云区市场监督管理局列入经营异常名录。值得一提的是,去年10月,该公司因同样原因已被列入经营异常名录。 宝沃汽车(中国)有限公司成立于2015年7月,法定代表人为苏加水,注册资本约1.14亿人民币,经营范围含汽车产品研发、宝沃品牌汽车及零部件销售、技术进出口、货物进出口等…

    2025年10月14日
  • 哈啰出行在济南成立网络科技公司注册资本3000万美元

    天眼查工商信息显示,近日,济南哈动网络科技有限公司成立,法定代表人为王天流,注册资本3000万美元,经营范围含网络与信息安全软件开发、物联网应用服务、物联网技术服务、信息系统集成服务、软件开发、互联网销售、票务代理服务、酒店管理、商务代理代办服务等。股东信息显示,该公司由哈啰出行旗下Hong Kong RideTech Limited全资持股。 天眼查信息:…

    2025年11月12日

发表回复

您的电子邮箱地址不会被公开。 必填项已用*标注

联系我们

邮件:939297903@qq.com

工作时间:周一至周五,9:30-18:30,节假日休息

关注微信