姚振华及宝能集团等被恢复执行33.2亿

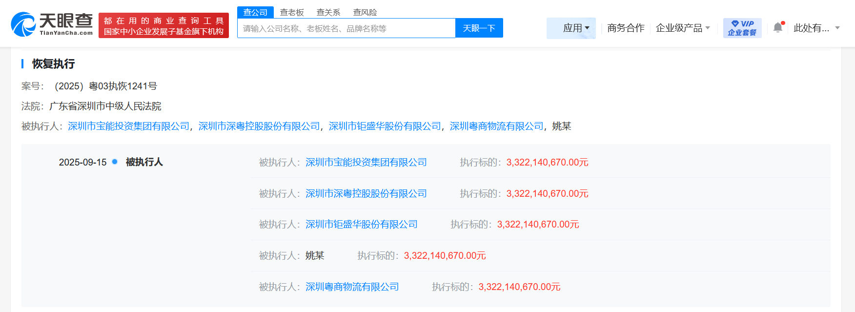
天眼查App显示,9月15日,姚振华、深圳市宝能投资集团有限公司、深圳市钜盛华股份有限公司等新增一则恢复执行信息,执行标的33.2亿余元,执行法院为广东省深圳市中级人民法院。

姚振华及宝能集团等被恢复执行33.2亿

姚振华及宝能集团等被恢复执行33.2亿

姚振华及宝能集团等被恢复执行33.2亿

深圳市宝能投资集团有限公司成立于2000年3月,法定代表人为姚振华,注册资本约3亿人民币,由姚振华、深圳赛康资产管理有限公司共同持股。天眼风险信息显示,该公司现存65条被执行人信息,被执行总金额超485亿余元,此外,该公司还存在多条限制消费令、失信被执行人(老赖)及终本案件信息。

天眼查信息:https://www.tianyancha.com/company/29834709

本文来自投稿,不代表创造权威IP 赋能创业者——IP百创立场,如若转载,请注明出处:创造权威IP 赋能创业者——IP百创

(0)
打赏 微信扫一扫 微信扫一扫 支付宝扫一扫 支付宝扫一扫
上一篇 2025年9月16日
下一篇 2025年9月16日

相关推荐

  • 步步高投资集团等被强执2亿

    天眼查法律诉讼信息显示,8月19日,步步高投资集团股份有限公司、长沙富格商业物业管理有限公司以及王填、张海霞新增一条被执行人信息,执行标的2.03亿余元,涉及金融借款合同纠纷案件,执行法院为长沙市芙蓉区人民法院。 步步高投资集团股份有限公司成立于2003年2月,法定代表人为王填,注册资本约1.18亿人民币,由王填、张海霞、联志投资有限公司、张露丹、陈志强等共…

    行业动态 2024年8月20日
  • 匹克集团旗下十余家分支机构已吊销或注销

    #匹克集团旗下多家公司已注销# #匹克中国关联公司近期更名# #盘点匹克集团商业版图##匹克被曝要求拒降薪员工写检讨# 据媒体报道,近日,匹克因未通知员工便实施全员阶梯式降薪,最高降幅达到50%,引发社会关注。有匹克员工透露,公司向拒绝降薪的员工发出“最后通牒”,要求其在10月14日前提交“反思检讨”,否则将面临停发9月份工资的处罚。 天眼查App显示,福建…

    2025年10月15日
  • 单价上浮100%!优爱腾下场、长视频开始卷“短剧”了?

    ​作者| 赤木瓶子 编辑| Mia 国产短剧正“疯魔”,长视频又来添了把火。 近段时间,中老年短剧的热潮将玛丽苏的风吹向了银发市场,不断“上分”的中老年强劲用户,也助推多款相关作品接连上榜,带给短剧市场极大信心。 这两年来,长短视频平台相继推出多部高分短剧内容,考究的服化道配音与分镜、观众们越来越脸熟的演员与分不清长短的质感,包括《执笔》《招惹》《风月变》等…

    行业动态 2024年10月31日
  • 在《现在就出发》的“松弛感”里,看到品牌营销的情绪传播力

    作者| 无花果 刚刚过去的夏天,旅行、Citywalk成最热关键词,点燃了人们对户外和自然的渴望。 相应地,户外旅行、露营类综艺如雨后春笋般爆发,压抑了好几年的需求集体释放,指向“治愈系”的刚需。 从行业来看,综艺市场上掀起了社交与户外活动相结合的内容创新,推动户外综艺越来越卷;而从赛道选择上来看,携手综艺内容,尤其是户外综艺无疑是时下车企营销共识。如奥迪Q…

    行业动态 2023年8月29日
  • 超讯通信等在三明成立新公司注册资本1000万

    天眼查App显示,近日,超讯智算(三明)科技有限公司成立,法定代表人为陈厚健,注册资本1000万人民币,经营范围包括数字技术服务、互联网数据服务、大数据服务、数据处理和存储支持服务、人工智能公共数据平台等。股东信息显示,该公司由超讯通信、广州云上鸿图投资合伙企业(有限合伙)、广州华汇智算数字信息技术有限公司共同持股。 天眼查信息:https://www.ti…

    2025年10月30日

发表回复

您的电子邮箱地址不会被公开。 必填项已用*标注

联系我们

邮件:939297903@qq.com

工作时间:周一至周五,9:30-18:30,节假日休息

关注微信