吴世春被冻结537万股权

#吴世春所持537万股权被冻结#

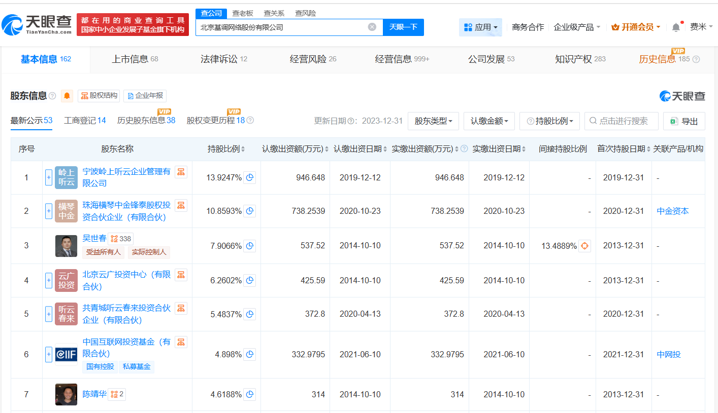
天眼查天眼风险信息显示,近日,北京基调网络股份有限公司新增一则股权冻结信息,被执行人为吴世春,股权所在企业为该公司,冻结股权数额537万余元人民币,冻结期限为3年,执行法院为北京市第三中级人民法院。

吴世春被冻结537万股权

吴世春被冻结537万股权

吴世春被冻结537万股权

北京基调网络股份有限公司成立于2007年3月,法定代表人为吴世春,注册资本约6798万人民币,经营范围包括计算机系统服务、软件销售、软件开发等。股东信息显示,该公司由宁波岭上听云企业管理有限公司、珠海横琴中金锋泰股权投资合伙企业(有限合伙)、吴世春等共同持股。

天眼查信息:https://www.tianyancha.com/company/24562684

本文来自投稿,不代表创造权威IP 赋能创业者——IP百创立场,如若转载,请注明出处:创造权威IP 赋能创业者——IP百创

(0)
打赏 微信扫一扫 微信扫一扫 支付宝扫一扫 支付宝扫一扫
上一篇 2025年9月22日
下一篇 2025年9月22日

相关推荐

  • B站盈利了,但市场的担忧不止一点点

    首次盈利之后,B站不再是那个可以“用爱发电”的少年了。它成年了,要面对成年人的所有麻烦——既要赚钱,又要守住初心;既要增长,又要平衡生态。

    2026年3月12日
  • 上汽工业集团公司完成换帅

    #上汽集团母公司完成换帅# 天眼查App显示,近日,上海汽车工业(集团)有限公司发生工商变更,陈虹卸任法定代表人、董事长,由王晓秋接任,同时,部分董事也发生变更。该公司成立于1996年3月,注册资本约217.49亿人民币,由上海市国有资产监督管理委员会全资持股。 今年7月,由上海汽车工业(集团)有限公司控股的上海汽车集团股份有限公司(上汽集团 600104)…

    行业动态 2024年8月26日
  • 俞敏洪实控一管理咨询公司注销

    天眼查App显示,近日,江阴佳临管理咨询有限公司经营状态由存续变更为注销。今年5月,该公司已发布注销备案公告,注销原因为决议解散。 该公司成立于2022年3月,注册资本1000万人民币,经营范围含企业管理咨询、企业管理、信息咨询服务、社会经济咨询服务等,由北京佳通私募基金管理有限公司全资持股,受益所有人为俞敏洪。 天眼查信息:https://www.tian…

    2024年9月13日
  • “AI孙燕姿们”到底伤害了谁?

    如何拥抱AIGC浪潮?

    2023年5月25日
  • 预售比直接买贵惹众怒,谁还在相信被玩烂了的双十一?

    电商行业的几个头部玩家翻脸有时候真的比翻书还快,没记错的话,从去年双11开始,到今年618,一直都喊着要将低价进行到底。‍‍‍‍‍‍‍‍‍‍‍‍‍‍‍‍‍‍‍‍ 但没成想,今年这个双11,昔日两大巨头似乎话里话外都在表示,我们不再卷低价了。 翻翻这些新闻,大概表达的就是,低价是恶心内卷,劣币驱除良币……反正就是坏处一大堆。 而事实上,为啥不卷低价了,原因也很…

    2024年10月28日

发表回复

您的电子邮箱地址不会被公开。 必填项已用*标注

联系我们

邮件:939297903@qq.com

工作时间:周一至周五,9:30-18:30,节假日休息

关注微信