揭秘致136人感染住院涉事公司

#致136人感染住院涉事公司出资额仅10万##贵州遵义成立工作组#

据媒体报道,近日,记者从贵州省遵义市食品药品安全委员会办公室了解到,日前发生的食物沙门氏菌感染截至21日17时已造成136人出现不适症状。经排查,患者反映食用的“三明治”糕点为习水县麦可美加乐食品厂生产。

揭秘致136人感染住院涉事公司

揭秘致136人感染住院涉事公司

揭秘致136人感染住院涉事公司

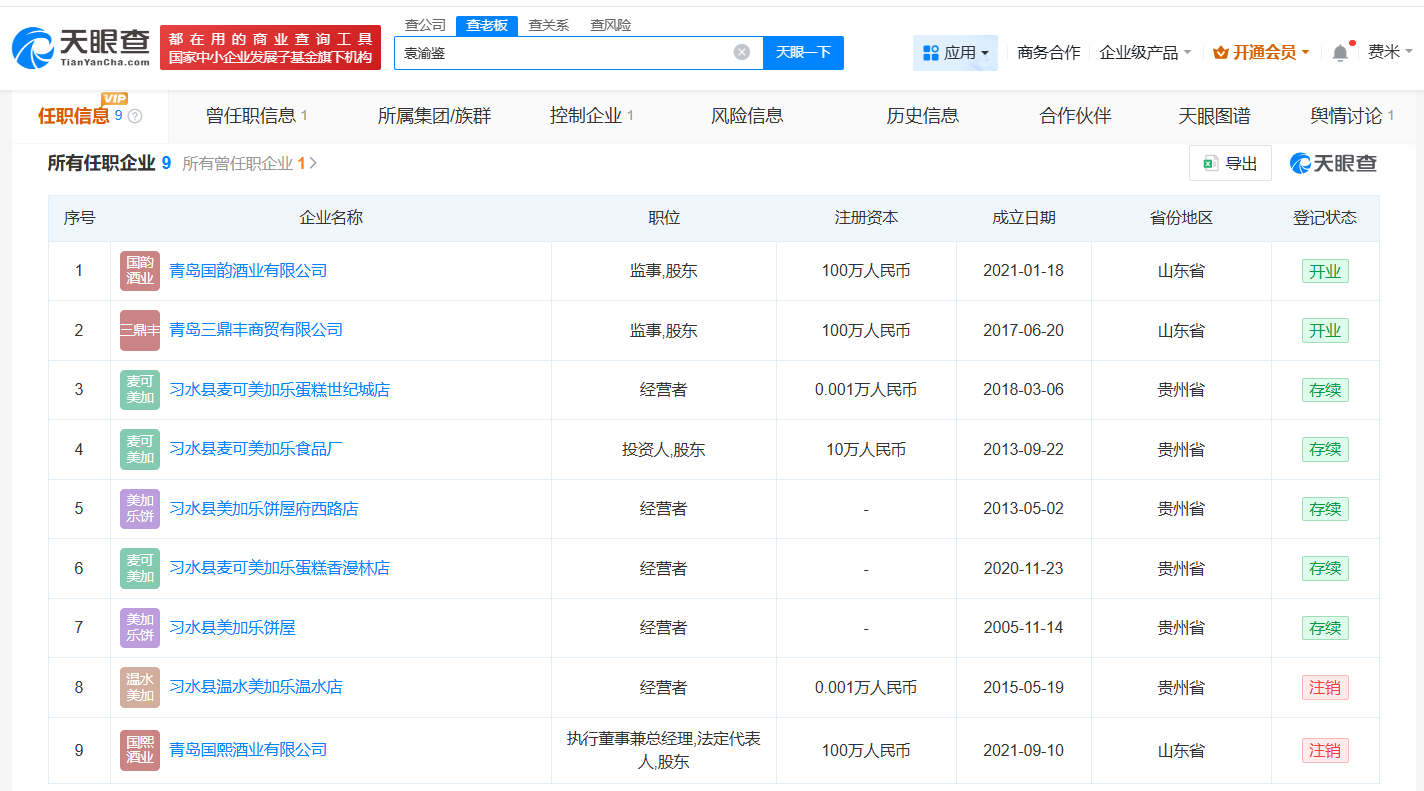
天眼查工商信息显示,习水县麦可美加乐食品厂成立于2013年9月,为袁渝鉴个人独资企业,出资额10万人民币,经营范围为糕点、月饼加工、销售。

值得一提的是,袁渝鉴名下关联9家企业,其中7家企业处于存续状态,包括习水县麦可美加乐蛋糕世纪城店、习水县美加乐饼屋府西路店、习水县麦可美加乐蛋糕香漫林店等。

天眼查信息:https://www.tianyancha.com/company/1604820232

本文来自投稿,不代表创造权威IP 赋能创业者——IP百创立场,如若转载,请注明出处:创造权威IP 赋能创业者——IP百创

(0)
打赏 微信扫一扫 微信扫一扫 支付宝扫一扫 支付宝扫一扫
上一篇 2025年9月22日
下一篇 2025年9月22日

相关推荐

  • 南京六合区新智合能股权投资合伙企业成立出资额50亿

    天眼查App显示,近日,南京六合区新智合能股权投资合伙企业(有限合伙)成立,执行事务合伙人为南京毅达股权投资管理企业(有限合伙),出资额50亿人民币,经营范围为股权投资。合伙人信息显示,该企业由南京六合经济开发区科技创业有限公司、南京六合兴棠投资有限公司、南京毅达股权投资管理企业(有限合伙)共同出资。 天眼查信息:https://www.tianyancha…

    2025年10月31日
  • 武汉长江新区未来产业引导基金成立# 出资额10亿

    天眼查工商信息显示,近日,武汉长江新区未来产业引导基金合伙企业(有限合伙)成立,执行事务合伙人为武汉武创资本私募股权投资基金管理有限公司,出资额10亿人民币,经营范围为私募股权投资基金管理、创业投资基金管理服务,以私募基金从事股权投资、投资管理、资产管理等活动,创业投资,以自有资金从事投资活动。合伙人信息显示,该基金由武汉长江新区创新产业发展基金有限公司、武…

    2026年3月14日
  • 长剧CP“磕不动了”,短剧CP凭什么霸占暑期档?

    作者| 糖炒山楂 编辑| Mia 今年夏天,长视频的CP真得越来越硌牙了。 剧集市场虽然有“二搭元年”的热闹,但“今夕赫夕”的失败案例显然更出圈。各种头部爆剧更是默契开启“无CP”或“弱CP”模式。网友(不完全)统计的2025新剧CP各平台综合热度TOP10中,断层第一的“瑞思白”超话人数22万,抖音话题播放量13亿。综艺市场则是着实不敢磕,被恋综伤害的心难…

    行业动态 2025年8月18日
  • 小红书的“幼崽经济学”

    在倪叔的印象里,还从来没人把母婴行业与宠物行业聚在一起开个会,但这两个行业在这些年的发展却有着高度重合性,核心原因是“养娃”“养崽”的人群有很多相似之处;由此,两个行业也显现出了越来越多的共通点,比如都是实际使用者与购买者分离的行业,面临的也就是两个实际消费者,甚至宠物行业被称为“一个育儿周期长达十五年的轻母婴行业”等等。 那么,这样两个高度相似的人群与行业…

    2024年4月30日
  • 剧宣新阵地,小红书成为新大众文艺的回音山谷

    作者| 赤木瓶子 2025年的剧集市场,经历了一场“换挡”。 表面上看,是爆剧减少、剧王缺位的收视焦虑。屡试不爽的“IP+流量”打法不再保险,短内容也在不断分流观众的注意力与耐心。 更深层的变化则发生在宣发端。作为剧集工业化的重要环节,剧集宣发正陷入一种高耗能、低转化的困境。热词速生速朽且千篇一律,预制“人设”与“CP”常常轮番上阵,信息密度越来越高,观众对…

    行业动态 2026年3月1日

发表回复

您的电子邮箱地址不会被公开。 必填项已用*标注

联系我们

邮件:939297903@qq.com

工作时间:周一至周五,9:30-18:30,节假日休息

关注微信