加多宝关联公司曾申请王老吉商标被驳回

据报道,10月10日,加多宝集团突然发布声明,声称拥有王老吉海外商标所有权。而此前9月30日,广州王老吉大健康产业有限公司(下称“王老吉大健康公司”)则指责加多宝属于恶意抢注,双方围绕海外商标归属展开新一轮攻防战。据悉,万捷有限公司为加多宝集团海外离岸关联公司。

加多宝关联公司曾申请王老吉商标被驳回

加多宝关联公司曾申请王老吉商标被驳回

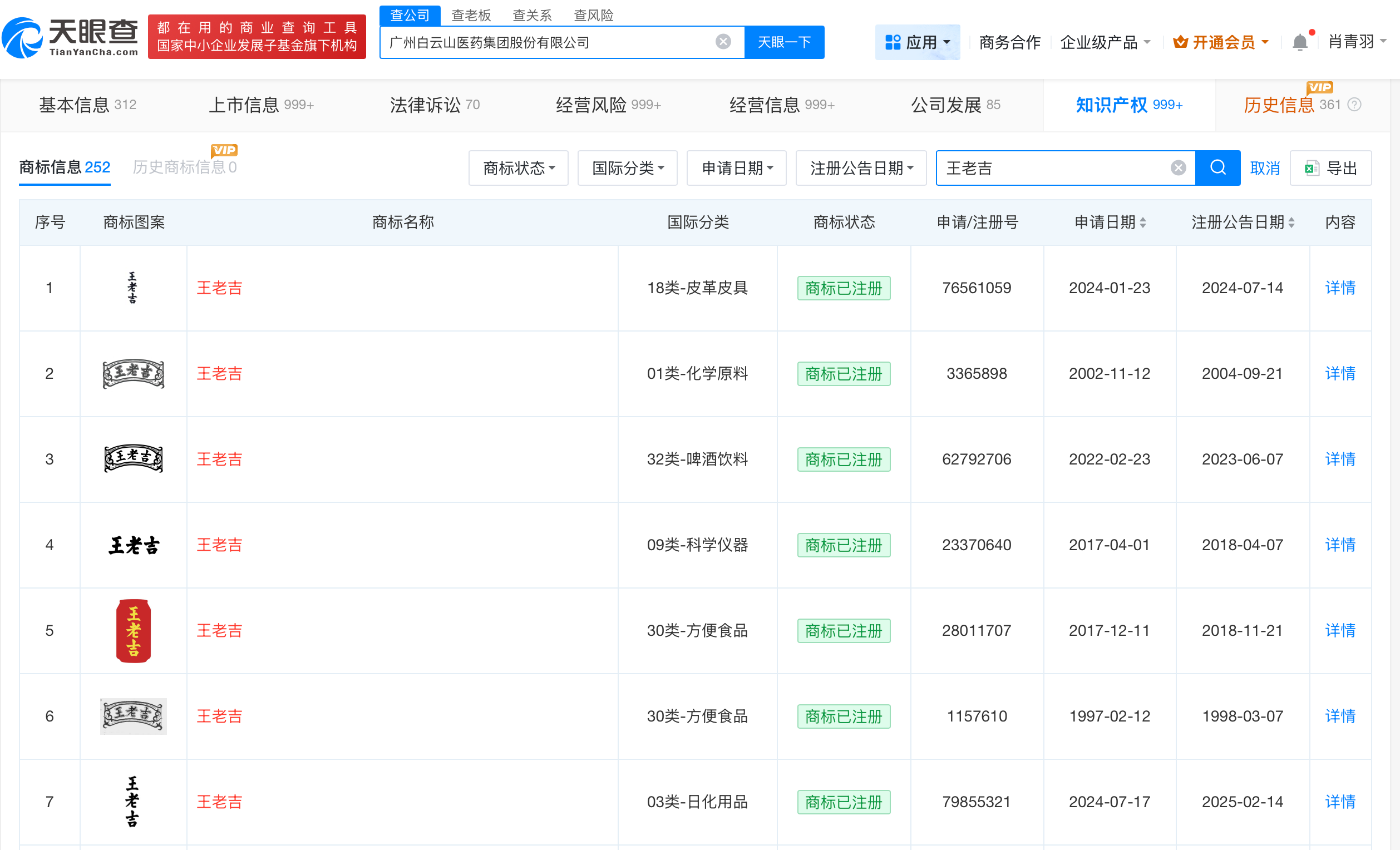
天眼查App显示,“王老吉”已被多方申请注册为商标,国际分类包括医药、饲料种籽、方便食品等,申请人包括万捷有限公司、新郑市某饲料厂等。当前上述商标多已被驳回。此外,广州白云山医药集团股份有限公司已申请注册多枚“王老吉”商标,当前商标状态多为已注册。

天眼查信息:https://www.tianyancha.com/company/822052255/zhishi

本文来自投稿,不代表创造权威IP 赋能创业者——IP百创立场,如若转载,请注明出处:创造权威IP 赋能创业者——IP百创

(0)
打赏 微信扫一扫 微信扫一扫 支付宝扫一扫 支付宝扫一扫
上一篇 2025年10月12日
下一篇 2025年10月12日

相关推荐

  • 浙资运营等成立创业投资合伙企业出资额约14亿

    天眼查工商信息显示,近日,浙江富浙甬元山海创业投资合伙企业(有限合伙)成立,执行事务合伙人为浙江富浙私募基金管理有限公司,出资额14.03亿人民币,经营范围为创业投资、股权投资。合伙人信息显示,该合伙企业浙江省国有资本运营有限公司、宁波市甬元投资基金有限公司、浙江富浙私募基金管理有限公司等共同出资。 天眼查信息:https://www.tianyancha….

    2025年11月12日
  • 科大讯飞勾勒生成式AI输入法“模样”,开启下一代输入法革命

    回顾国内第三方输入法赛道近十余年的发展,移动互联网的市场红利催生了科大讯飞、百度、搜狗等颇具规模和实力的头部厂商。与此同时,历经多年、多方角逐,第三方输入法市场进入存量阶段,升级技术、优化用户体验来挖掘存量,成为决定竞争胜负的关键。 恰逢ChatGPT引爆AI技术新浪潮,AI大模型浪潮滚滚而来,科技巨头们争相竞逐。10月24日,2023年科大讯飞全球1024…

    2023年10月30日
  • 华泰证券等在江苏成立科创成长基金出资额50.55亿

    天眼查工商信息显示,近日,江苏华泰国金科创成长股权投资基金(有限合伙)成立,执行事务合伙人为华泰紫金投资有限责任公司、工银资本管理有限公司、江苏金财投资有限公司,出资额50.55亿人民币,经营范围为以私募基金从事股权投资、投资管理、资产管理等活动,股权投资,创业投资。合伙人信息显示,该基金由工银资本管理有限公司、江苏金财投资有限公司、江苏社保科创股权投资基金…

    2026年1月13日
  • 有人十年前就启动了对农夫山泉的“水战”

    最近国际局势动荡加剧,有一种观点“独辟蹊径”:摧毁一个国家的水源、水管、供水体系“可能”比炸掉油田、工厂等生产设施更“好使”。因为“水”是对于一个国家的所有民众无差别的生产资料,所以具有很高的战略重要性。 这个观点看似不经意,但在某些人那里可能真的是这样“贯彻”的,尤其是针对高质量的饮用水发起“攻击”。再想一想近来对于中国饮用水头部生产企业的一轮又一轮明显有…

    2024年5月24日
  • 王老吉关联公司增资至10亿增幅约11%

    天眼查工商信息显示,近日,王老吉关联公司广州王老吉大健康产业有限公司发生工商变更,注册资本由9亿人民币增至10亿人民币,增幅约11%,同时发生高管变更。 广州王老吉大健康产业有限公司成立于2012年2月,法定代表人为陈昆南,经营范围包括食用农产品零售、土地使用权租赁、非居住房地产租赁等。股东信息显示,该公司由白云山全资持股。 天眼查信息:https://ww…

    2025年11月20日

发表回复

您的电子邮箱地址不会被公开。 必填项已用*标注

联系我们

邮件:939297903@qq.com

工作时间:周一至周五,9:30-18:30,节假日休息

关注微信