已有企业申请昀牵孟绕商标

#已有新企业以昀牵孟绕命名##工作室辟谣孟子义李昀锐恋情#

据报道, 近日,演员李昀锐与孟子义被曝连续多日收工后一同返回同一住宅单元,疑似恋情曝光。随后,孟子义工作室、李昀锐工作室分别发布辟谣博文。

已有企业申请昀牵孟绕商标

已有企业申请昀牵孟绕商标

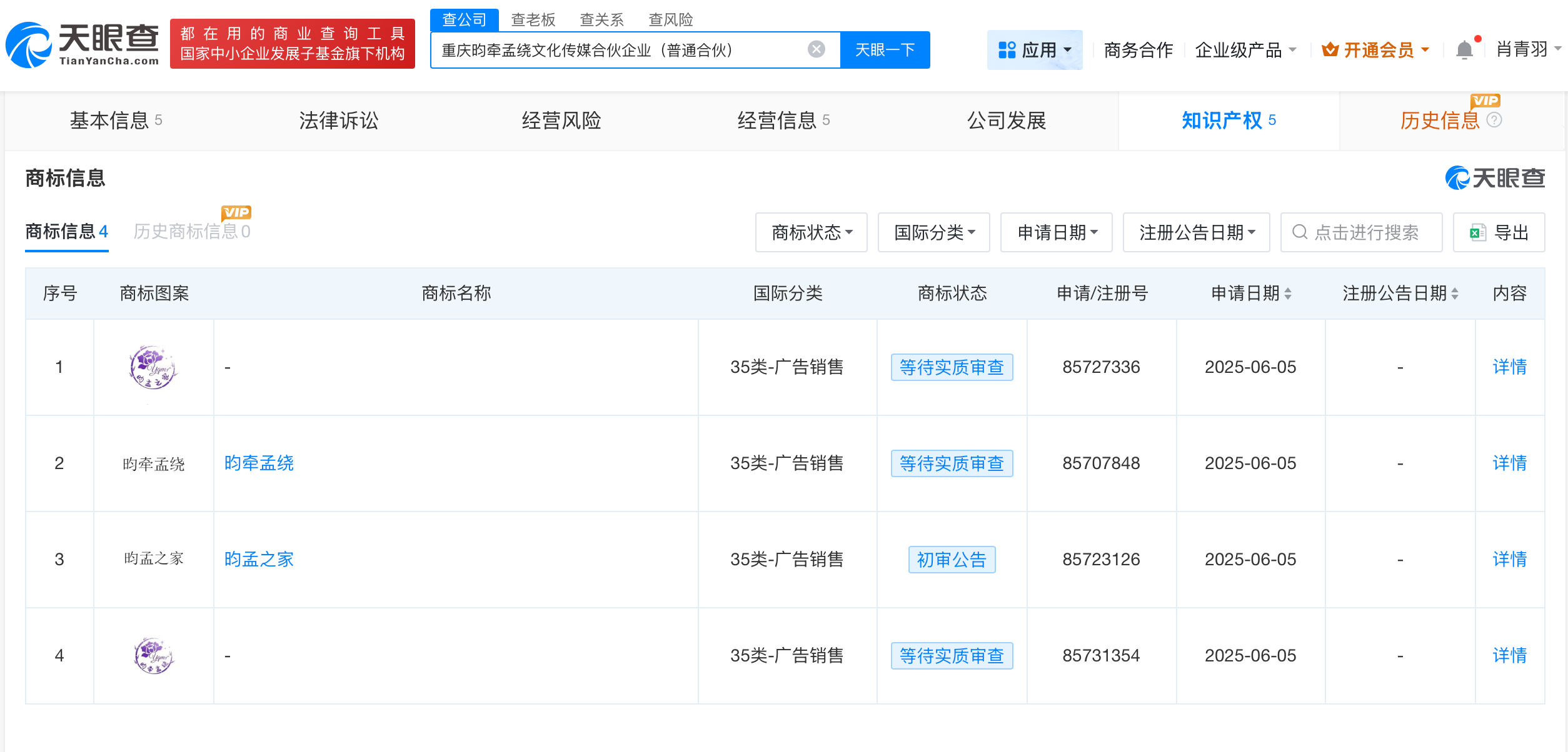
天眼查App显示,今年5月,重庆昀牵孟绕文化传媒合伙企业(普通合伙)注册成立。知识产权信息显示,该合伙企业已申请多枚“昀牵孟绕”“昀孟之家”文字和图形商标,其中“昀孟之家”已初审公告,其余商标状态为等待实质审查。

天眼查信息:https://www.tianyancha.com/company/7568102131

本文来自投稿,不代表创造权威IP 赋能创业者——IP百创立场,如若转载,请注明出处:创造权威IP 赋能创业者——IP百创

(0)
打赏 微信扫一扫 微信扫一扫 支付宝扫一扫 支付宝扫一扫
上一篇 2025年10月12日
下一篇 2025年10月12日

相关推荐

  • 赛微电子等成立传感科技股权投资基金# 出资额10亿

    天眼查App显示,近日,北京北工怀微传感科技股权投资基金(有限合伙)成立,执行事务合伙人为北京国融工发投资管理有限公司,出资额10亿人民币,经营范围包括以私募基金从事股权投资、投资管理、资产管理等活动。合伙人信息显示,该公司由北京京国盛投资基金(有限合伙)、北京赛微电子股份有限公司、北京怀胜基金管理有限公司等共同出资。 天眼查信息:https://www.t…

    2023年2月24日
  • 竞技生存节目的国综冒险,素人综艺《我可以47》能否撑得起?

    ​作者| 赤木瓶子 编辑| 无花果 “这肌肉、这快溢出屏幕的荷尔蒙,导演你是懂观众爱看什么的。” 感受过《封神》质子团的“肌肉盛宴”,《种地吧》里淳朴劳作的少年晒得发紫的后脖颈,是时候来一档更加彻头彻尾的视觉洗礼了。 这样一档节目的确来了。10月下旬,腾讯自制国内首档热血竞技生存节目《我可以47》播出。骨朵数据显示,上映9天,节目历史最高热度57.28,位居…

    行业动态 2023年10月30日
  • 花式“踩雷”、无人飞升:95花暑期档卡位战为何“集体失利”?

    ​作者| 糖炒山楂 编辑| Mia 95花的上升之路,在这个暑期档急转直下。 8月的最后一天,宋祖儿因税务问题登上微博热搜,随后税务总局官方客服表示后续将对其开展税务稽查。前经纪公司喜天传媒也在事发后迅速与之“切割”。 她曾是最被看好的95花之一。仅四部待播剧《无忧渡》《艰难的制造》《折腰》《阅读课》便牵连了腾讯视频、爱奇艺、正午阳光等多个头部平台和制作公司…

    行业动态 2023年9月6日
  • 《庆余年2》《少年白马》《唐诡2》……男频剧二代能成为“爆款基地”吗?

    ​作者| 糖炒山楂 编辑| 赤木瓶子 市场对古装剧的持续“看爆”,也在男频剧中被验证。 近日,优酷的《少年白马醉春风》(以下简称《少白》)和爱奇艺的《唐朝诡事录之西行》(以下简称《唐诡2》)先后宣布站内热度破万,后者还同步在豆瓣上拿下了超5万人打出8.2分的好口碑,口碑与热度兼具。 2024开年便有媒体给出了“男频剧大年”的预测。除了上述两部剧,开年至今已经…

    行业动态 2024年7月29日
  • 小鹏汽车在苏州成立销售服务新公司# 注册资本500万

    天眼查工商信息显示,近日,苏州鹏昭汽车销售服务有限公司成立,法定代表人为韩键,注册资本500万人民币,经营范围含汽车销售、新能源汽车整车销售、新能源汽车电附件销售、汽车零配件批发、汽车零配件零售、商务代理代办服务、信息技术咨询服务、信息咨询服务等。股东信息显示,该公司由小鹏汽车旗下苏州小鹏汽车销售服务有限公司全资持股。 天眼查信息:https://www.t…

    行业动态 2026年1月6日

发表回复

您的电子邮箱地址不会被公开。 必填项已用*标注

联系我们

邮件:939297903@qq.com

工作时间:周一至周五,9:30-18:30,节假日休息

关注微信