恒大地产等被执行4.4亿

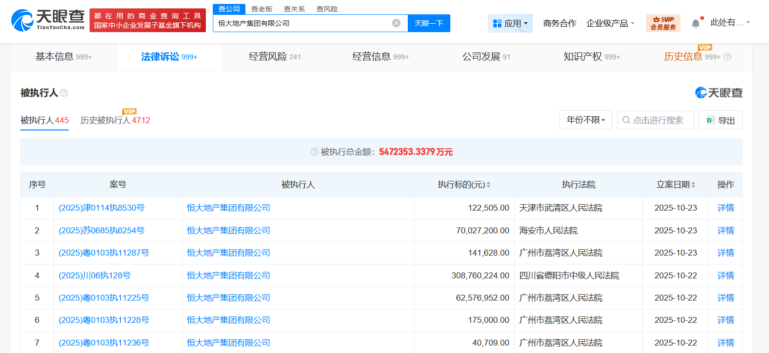
天眼查App显示,10月22日至23日,恒大地产集团有限公司新增7条被执行人信息,执行标的合计4.4亿余元,涉及买卖合同纠纷、建设工程施工合同纠纷等案件,部分案件被执行人还包括恒大集团有限公司、南通苏创置业有限公司等,执行法院为四川省德阳市中级人民法院、广州市荔湾区人民法院等。

恒大地产等被执行4.4亿

恒大地产等被执行4.4亿

天眼风险信息显示,恒大地产集团有限公司现存440余条被执行人信息,被执行总金额超547亿元,此外,该公司还存在多条限制消费令、失信被执行人(老赖)及终本案件信息。

天眼查信息:https://www.tianyancha.com/company/7219966

本文来自投稿,不代表创造权威IP 赋能创业者——IP百创立场,如若转载,请注明出处:创造权威IP 赋能创业者——IP百创

(0)
打赏 微信扫一扫 微信扫一扫 支付宝扫一扫 支付宝扫一扫
上一篇 2025年10月24日
下一篇 2025年10月24日

相关推荐

  • 钟薛高及林盛因服务合同纠纷被限消

    #钟薛高及林盛再次被限消# 天眼查法律诉讼信息显示,近日,钟薛高食品(上海)有限公司及其法定代表人林盛因未履行生效法律文书确定的给付义务,被上海市嘉定区人民法院限制高消费,涉及服务合同纠纷案件。案件流程信息显示,不久前,该公司已因此案被强制执行68.5万元。 钟薛高食品(上海)有限公司成立于2018年3月,法定代表人为林盛,注册资本约12亿人民币,由Glor…

    2024年9月18日
  • #佳都科技在广州成立新公司# 注册资本1000万

    天眼查App显示,近日,广州佳致科技有限责任公司成立,法定代表人为陈壮伟,注册资本1000万人民币,经营范围含信息系统集成服务、智能控制系统集成、数字内容制作服务等。股东信息显示,该公司由佳都科技及旗下广州新科佳都科技有限公司分别持股99%、1%。 天眼查信息:https://www.tianyancha.com/company/6945842932

    2024年5月14日
  • #大连万达商管同日成立5家企管公司# 注册资本共5000万

    天眼查工商信息显示,8月22日,大连盛北企业管理有限公司、大连盛千企业管理有限公司、大连盛西企业管理有限公司、大连盛集企业管理有限公司、大连盛万企业管理有限公司成立,法定代表人均为李大伟,注册资本均为1000万人民币,经营范围均为企业总部管理、企业管理咨询、以自有资金从事投资活动。股东信息显示,上述5家公司均由大连万达商业管理集团股份有限公司全资持股。 天眼…

    2025年8月25日
  • 沉浸式感受“热搜外的生活”:在《热浪之外》读懂“热搜人物”

    作者| Mia “你上热搜了。” 在“全民皆网民”的时代,刷微博热搜榜以了解当下新闻热点,几乎已成大众每天上网的标准动作,从奥运季到“花学”“杨学”,热搜榜映射出社会新闻、体育文娱行业的千百个切面。在一次次点击,浏览,转发,评论中,公众在“当事人”身上代入和投射自我,而一次次“共创”,也最终化为席卷全网的舆论浪潮。 众声喧哗,一定程度上模糊了他们本人真实的声…

    行业动态 2024年11月5日
  • 人人车创始人李健进军AI硬件成立闪瞳科技聚焦智能影像

    近日,58集团高级副总裁、原人人车CEO李健已创立新公司“北京闪瞳智能科技有限公司”,主营软硬结合的智能影像业务。 天眼查工商信息显示,北京闪瞳智能科技有限公司成立于今年6月,注册资本100万人民币,经营范围包括智能无人飞行器制造、通讯设备销售、机械设备销售等,由李健全资持股。变更记录显示,今年8月,李健接任该公司法定代表人、经理、董事。 天眼查信息:htt…

    2025年10月14日

发表回复

您的电子邮箱地址不会被公开。 必填项已用*标注

联系我们

邮件:939297903@qq.com

工作时间:周一至周五,9:30-18:30,节假日休息

关注微信