腾讯等入股帆礼生物技术公司

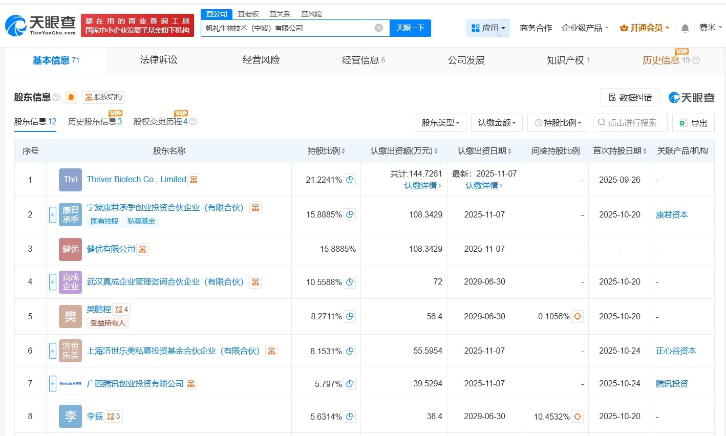
天眼查App显示,近日,帆礼生物技术(宁波)有限公司发生工商变更,新增广西腾讯创业投资有限公司、上海济世乐美私募投资基金合伙企业(有限合伙)为股东,注册资本由约474万人民币增至约682万人民币,同时,部分高管也发生变更。

腾讯等入股帆礼生物技术公司

腾讯等入股帆礼生物技术公司

腾讯等入股帆礼生物技术公司

腾讯等入股帆礼生物技术公司

该公司成立于2023年10月,法定代表人为樊鹏程,经营范围为医学研究和试验发展,现由Thriver Biotech Co., Limited、宁波康君承季创业投资合伙企业(有限合伙)及上述新增股东等共同持股。

天眼查信息:https://www.tianyancha.com/company/6564432261

本文来自投稿,不代表创造权威IP 赋能创业者——IP百创立场,如若转载,请注明出处:创造权威IP 赋能创业者——IP百创

(0)
打赏 微信扫一扫 微信扫一扫 支付宝扫一扫 支付宝扫一扫
上一篇 2025年10月29日
下一篇 2025年10月29日

相关推荐

  • 百度登记DoctorClaw关联作品著作权

    #百度登记医生专业版龙虾关联作品著作权# 天眼查知识产权信息显示,近日,北京百度网讯科技有限公司登记“百度健康doctorclaw产品logo”“百度健康Dr.claw产品logo”作品著作权,作品类别均为美术。 北京百度网讯科技有限公司成立于2001年6月,法定代表人为梁志祥,注册资本约134.2亿人民币,经营范围包括计算机软硬件及辅助设备零售、计算机软硬…

  • 劝刘强东别做外卖?这是阴谋!

    文 | 螳螂观察 作者 | 砚秋 劝刘强东别做外卖 我第一个不同意 尤其是他说 京东现在最不应该干外卖 理由还是要京东去解决食品安全 这我就更不能理解了! 外卖安全问题 不就是最大的食品完全问题吗? 不信你问问 谁不担心 自己和自己的孩子 外卖到底安不安全? 要知道全中国 每3个中国人中 就有1个是吃过外卖的 你们看到了吗 同一家店 堂食跟外卖食材根本不一样…

    2025年7月24日
  • 中国国新在雄安成立青年创新企业管理公司注册资本1000万

    天眼查工商信息显示,近日,国新(雄安)青年创新企业管理有限公司成立,法定代表人为王启军,注册资本1000万人民币,经营范围为企业管理、企业管理咨询。股东信息显示,该公司由中国国新基金管理有限公司全资持股。 天眼查信息:https://www.tianyancha.com/company/7914888039

    2026年1月13日
  • #IDo钻戒李厚霖所持4950万股权被冻结

    #IDo钻戒母公司被冻结4950万股权# 天眼查App显示,近日,恒信正隆经贸有限责任公司新增一则股权冻结信息,被执行人为李厚霖,冻结股权数额4950万人民币,冻结期限自2023年3月23日至2026年3月22日。 恒信正隆经贸有限责任公司成立于2003年4月,注册资本5000万人民币,法定代表人为李厚霖。股东信息显示,该公司为I Do钻戒主体公司恒信玺利实…

    2023年3月29日
  • 氢能车将会和电动车一样便宜?氢能时代要来了吗?

    氢能车将会和电动车一样便宜?氢能时代要来了吗?

    2026年3月26日

发表回复

您的电子邮箱地址不会被公开。 必填项已用*标注

联系我们

邮件:939297903@qq.com

工作时间:周一至周五,9:30-18:30,节假日休息

关注微信