嘎子哥及妻子被限消

#嘎子哥再次被限消# #谢孟伟夫妇被限消# #谢孟伟再次被限消#

天眼查天眼风险信息显示,近日,因未按指定期间履行生效法律文书确定的给付义务,谢孟伟(嘎子哥)及郭珊珊(嘎子哥妻子)被限制高消费,涉及民间借贷纠纷案件,执行法院为新邵县人民法院。案件流程信息显示,今年9月,二人已因此案被执行210万余元。

嘎子哥及妻子被限消

嘎子哥及妻子被限消

嘎子哥及妻子被限消

嘎子哥及妻子被限消

值得注意的是,此前,谢孟伟曾因民间借贷纠纷被河南省郑州市管城回族区人民法院执行171万余元,并被限制高消费。

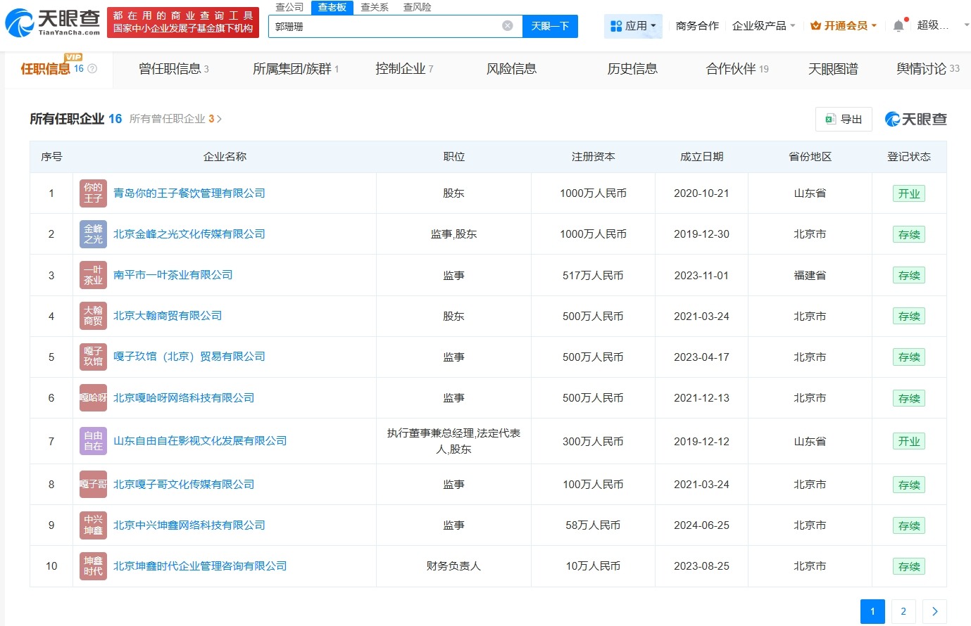
任职信息显示,谢孟伟(嘎子哥)共关联4家企业,目前均已注销。谢孟伟的妻子郭珊珊名下关联16家企业,其中10家为存续状态,包括北京嘎子哥文化传媒有限公司等,郭珊珊在上述公司担任监事、股东等职务。

天眼查信息:https://www.tianyancha.com/judicialcase/detail/0/5bab0eb0261a48c7b3877d22b1a6a8ce

本文来自投稿,不代表创造权威IP 赋能创业者——IP百创立场,如若转载,请注明出处:创造权威IP 赋能创业者——IP百创

(0)
打赏 微信扫一扫 微信扫一扫 支付宝扫一扫 支付宝扫一扫
上一篇 2025年11月5日
下一篇 2025年11月5日

相关推荐

  • 东原公交公司3月份刚新增校车运营服务

    #东原公交公司涉多个交通事故责任纠纷##泰安交通事故致11人遇难# 据报道,9月3日早晨,山东省泰安市东平县佛山中学附近路上发生一起严重的交通事故,一辆中巴校车撞向学生人群,造成24名学生和家长受伤,目前已致11人不幸身亡。记者看到,肇事车辆车身上喷有东平县东原公共交通有限公司字样。 天眼查App显示,东平县东原公共交通有限公司成立于2012年3月,注册资本…

    行业动态 2024年9月3日
  • 国庆音乐节超36场,流量艺人首秀是“新贵”还是“暗雷”?

    作者| 赤木瓶子 编辑| Mia 每逢国庆,音乐演出少不了新意,更少不了插曲,今年的关键词是“首秀”。 演员候明昊、曾饰演《庆余年》“二皇子”一角的刘端端、柴鸡蛋今年热播网剧中的演员展轩、以及未被披露姓名的“青年首秀嘉宾”,均在国庆迎来音乐节首秀。相较于今年五一档的“演员跨界”焦点,国庆音乐节更是具体到了“艺人首秀”,争议也随之而来。 今日(10月2日),因…

    行业动态 2025年10月2日
  • 铂爵旅拍董事长许春盛等被执行1.75亿

    #铂爵旅拍多位股东成被执行人# 天眼查天眼风险信息显示,近日,许春盛、谢家章、许春德、詹旭辉、厦门铂金鼎睿投资合伙企业(有限合伙)、厦门铂金鼎盛投资合伙企业(有限合伙)、厦门铂金鼎泰投资合伙企业(有限合伙)等新增一则被执行人信息,执行标的1.75亿余元,执行法院为福建省厦门市中级人民法院。 工商信息显示,上述被执行人多为铂爵旅拍关联公司铂爵旅拍文化集团有限公…

    2025年11月12日
  • 中信银行成立金融资产投资公司注册资本100亿

    天眼查工商信息显示,近日,信银金融资产投资有限公司成立,法定代表人为蒋东明,注册资本100亿人民币,经营范围为非银行金融业务。股东信息显示,该公司由中信银行全资持股。 据报道,此前,中信银行曾发布公告称,于2025年11月21日收到《国家金融监督管理总局关于信银金融资产投资有限公司开业的批复》。根据该批复,信银金融资产投资有限公司注册资本为100亿人民币,注…

  • 物流需求回复势头稳定,目前全国社会物流总额达197.7万亿元

    中国物流与采购联合会29日公布今年1-7月份物流运行数据。数据显示,物流需求恢复势头基本稳定,7月份虽受部分地区高温多雨等短期因素扰动,但物流总额增速环比有所提升,呈现温和回升态势。 今年1-7月份,全国社会物流总额197.7万亿元,同比增长5.5%。7月当月,社会物流总额同比增长5.3%,比上月加快0.1个百分点,扭转了4月以来的回落态势,呈现出温和回升的…

    2024年8月31日

发表回复

您的电子邮箱地址不会被公开。 必填项已用*标注

联系我们

邮件:939297903@qq.com

工作时间:周一至周五,9:30-18:30,节假日休息

关注微信