胖东来投资1亿成立新公司

#胖东来新公司名叫梦之城#

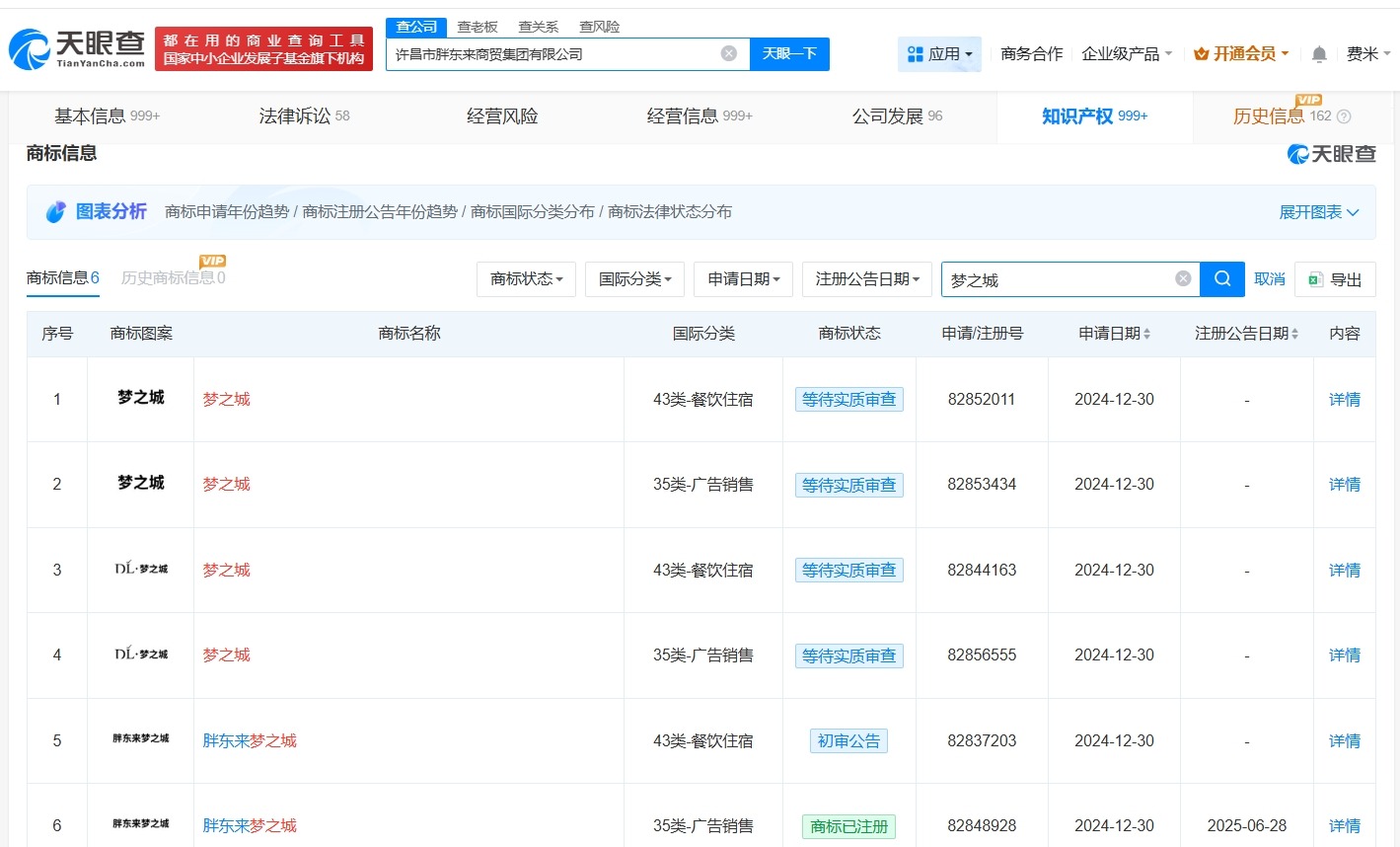
天眼查App显示,近日,许昌市胖东来梦之城商贸有限公司成立,法定代表人为冯延军,注册资本1亿人民币,经营范围包括日用百货销售、五金产品零售、服装服饰零售、化妆品零售等。股东信息显示,该公司由许昌市胖东来商贸集团有限公司全资持股。值得一提的是,去年12月,许昌市胖东来商贸集团有限公司已申请注册多枚“梦之城”“胖东来梦之城”商标,国际分类为餐饮住宿、广告销售,目前部分商标已成功注册。

胖东来投资1亿成立新公司

胖东来投资1亿成立新公司

胖东来投资1亿成立新公司

据媒体报道,今年2月,于东来个人社交平台公布一张商业项目效果图,并配文:做精胖东来梦之城和产业园项目,坚定把许昌打造成商业文明的摇篮。

天眼查信息:https://www.tianyancha.com/company/7849292261

本文来自投稿,不代表创造权威IP 赋能创业者——IP百创立场,如若转载,请注明出处:创造权威IP 赋能创业者——IP百创

(0)
打赏 微信扫一扫 微信扫一扫 支付宝扫一扫 支付宝扫一扫
上一篇 2025年11月21日
下一篇 2025年11月21日

相关推荐

  • 伯特利、金润电气成立驱动科技公司注册资本1亿

    天眼查App显示,近日,芜湖伯特利驱动科技有限公司成立,法定代表人为梅荣军,注册资本1亿人民币,经营范围包括电机及其控制系统研发、电机制造、智能机器人的研发、工业机器人制造等。股东信息显示,该公司由伯特利、廊坊金润电气股份有限公司共同持股。 天眼查信息:https://www.tianyancha.com/company/7832838908

    2025年11月5日
  • 嘎子哥妻子任职公司成被执行人

    #嘎子哥妻子任职公司被执行33万# 天眼查App显示,近日,北京嘎哈呀网络科技有限公司新增一则被执行人信息,执行标的33.35万元,执行法院为北京市大兴区人民法院。 北京嘎哈呀网络科技有限公司成立于2021年12月,法定代表人为郭亮亮,由郭珊珊(嘎子哥妻子)担任监事,注册资本500万人民币,经营范围包括社会经济咨询服务、企业管理咨询、礼仪服务等。股东信息显示…

    2025年11月21日
  • 隆华科技在洛阳成立新材料科技公司#注册资本3000万

    天眼查App显示,近日,洛阳思维诺新材料科技有限公司成立,法定代表人为刘召杨,注册资本3000万人民币,经营范围含新材料技术推广服务、新材料技术研发、合成材料制造等。股东信息显示,该公司由隆华科技(300263)全资持股。 天眼查信息:https://www.tianyancha.com/company/7269792804

    2024年10月30日
  • ThinkPad“思考”AI时代:人机共生,始终于人

    汹涌澎湃的AI大时代正在扑面而来。 但是,随着AI的发展日益深入,也有不少有识之士在思考或者警示AI与人的关系。 中国科学院院士何积丰说,“人类创造了一种物种,比人类学习得快,比人类聪明,但我们有驾驭的能力吗?这是人类第一次遇到这样的问题。” 复旦大学计算机科学技术学院教授肖仰华也表示,“智能时代,人与机器之间的关系、机器与机器之间的关系,将不可避免地纳入我…

    行业动态 2024年12月5日
  • 冯小刚持股公司欠税5269万被公告

    #冯小刚关联公司欠税5269万被公告# 天眼查天眼风险信息显示,近日,海南观澜湖华谊冯小刚文化旅游实业有限公司新增6则欠税公告,当前新发生的欠税金额合计超5269万元,欠税税种涉及土地增值税、增值税等。 天眼查工商信息显示,海南观澜湖华谊冯小刚文化旅游实业有限公司成立于2012年9月,法定代表人为许良程,注册资本2亿人民币,经营范围包括营业性演出、餐饮服务、…

    2025年9月22日

发表回复

您的电子邮箱地址不会被公开。 必填项已用*标注

联系我们

邮件:939297903@qq.com

工作时间:周一至周五,9:30-18:30,节假日休息

关注微信