中国恒大及恒大汽车等被执行20.5亿

#中国恒大累计被执行超146亿#

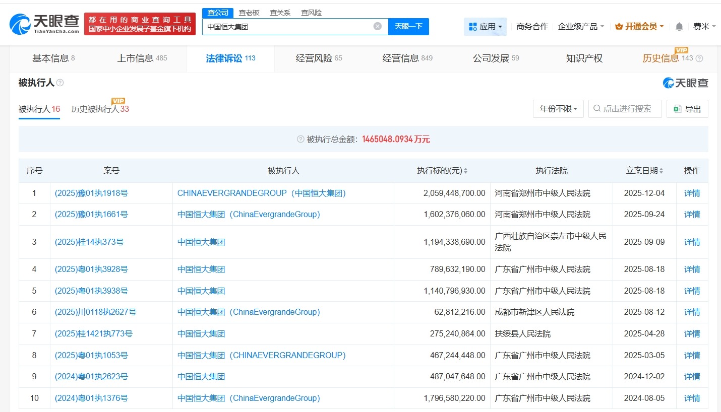
天眼查法律诉讼信息显示,近日,中国恒大集团、恒大新能源汽车投资控股集团有限公司等新增一则被执行人信息,执行标的20.5亿余元,执行法院为河南省郑州市中级人民法院。

中国恒大及恒大汽车等被执行20.5亿

中国恒大及恒大汽车等被执行20.5亿

风险信息显示,中国恒大集团现存10余条被执行人信息,被执行总金额超146亿元,此外还存在多条终本案件信息。

天眼查信息:https://www.tianyancha.com/company/3191323651/sifa

本文来自投稿,不代表创造权威IP 赋能创业者——IP百创立场,如若转载,请注明出处:创造权威IP 赋能创业者——IP百创

(0)
打赏 微信扫一扫 微信扫一扫 支付宝扫一扫 支付宝扫一扫
上一篇 2025年12月8日
下一篇 2025年12月8日

相关推荐

  • 全球进入新能源投资周期,民营油站或遭遇大面积“关停并转”

    未来,买一辆燃油车将越来越难。8月22日,长城汽车旗下哈弗品牌宣布全面向新能源转型,将于2030年正式停售燃油车。今年以来,已有包括比亚迪在内的多家国内车企宣布了停售燃油车计划。根据目前国内新能源车产销情况,以及政策引导趋势,预计国内燃油车或将在2030-2040年左右全面退出市场。 中国汽车品牌宣布停售燃油车时间节点尚不多见,但在国际上却已经屡见不鲜。在此…

    2022年9月8日
  • 青岛市政开发建设集团登记成立# 注册资本60亿

    天眼查App显示,近日,青岛市政开发建设集团有限公司成立,法定代表人为王元斌,注册资本60亿人民币,经营范围含房地产开发经营、建设工程施工、以自有资金从事投资活动、土地整治服务、工程管理服务、住房租赁、非居住房地产租赁、工程和技术研究和试验发展等,由青岛市人民政府国有资产监督管理委员会全资持股。 天眼查信息:https://www.tianyancha.co…

    行业动态 2025年12月16日
  • 沧州市琛鸿低空经济产业发展基金登记成立# 出资额2亿

    天眼查App信息,近日,沧州市琛鸿低空经济产业发展基金(有限合伙)成立,执行事务合伙人为河北燕赵资产管理有限公司,出资额2亿人民币,经营范围为私募股权投资基金管理、创业投资基金管理服务;以私募基金从事股权投资、投资管理、资产管理等活动。合伙人信息显示,该基金由河北燕赵资产管理有限公司、河北中捷石化集团有限公司、沧州市新兴产业发展母基金(有限合伙)等共同出资。…

    2024年10月30日
  • 山东海化集团等在青海成立矿业公司注册资本1亿

    天眼查App显示,近日,青海海化昆仑矿业有限公司成立,法定代表人为刘建路,注册资本1亿人民币,经营范围包括矿产资源勘查、矿物洗选加工、非金属矿物制品制造、土壤污染治理与修复服务等,由山东海化集团有限公司、天恩能源有限公司、江西天行化工有限责任公司共同持股。 天眼查信息:https://www.tianyancha.com/company/7773698839

    2025年10月15日
  • #哔哩哔哩在浙江成立数字文化公司# 注册资本4188万美元

    天眼查App显示,近日,浙江珞定数字文化有限公司成立,法定代表人为郑彬炜,注册资本4188万美元,经营范围含数字文化创意内容应用服务、数字内容制作服务、企业管理咨询、市场营销策划、企业形象策划、会议及展览服务等,由哔哩哔哩关联公司香港幻电有限公司全资持股。 天眼查信息:https://www.tianyancha.com/company/6948056080

    2024年5月15日

发表回复

您的电子邮箱地址不会被公开。 必填项已用*标注

联系我们

邮件:939297903@qq.com

工作时间:周一至周五,9:30-18:30,节假日休息

关注微信