融创等被执行20亿

#融创累计被执行超283亿#

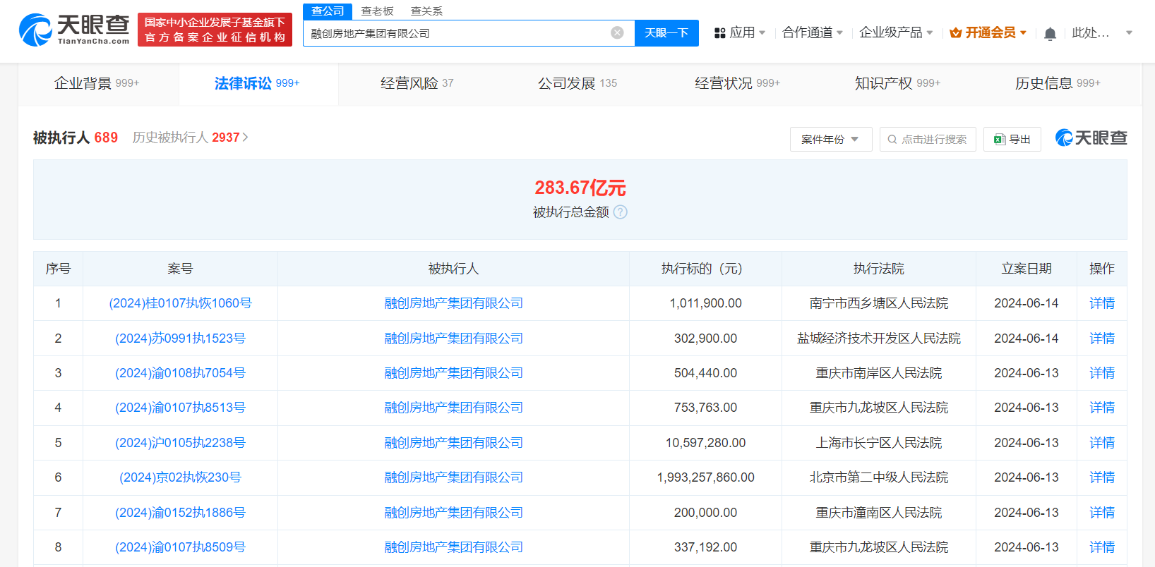
天眼查法律诉讼信息显示,6月13日至14日,融创房地产集团有限公司新增8条被执行人信息,执行标的合计20.07亿余元,涉及票据追索权纠纷、买卖合同纠纷等案件,其中一起恢复执行案件标的达19.93亿余元,被执行人还包括环球融创会展文旅集团有限公司、东方影都融创投资有限公司等。

融创等被执行20亿

融创等被执行20亿

风险信息显示,融创房地产集团有限公司现存680余条被执行人信息,被执行总金额超283亿元。此外,该公司还存在多条限制消费令、失信被执行人(老赖)和终本案件信息。

天眼查信息:https://www.tianyancha.com/company/1684115751/sifa

本文来自投稿,不代表创造权威IP 赋能创业者——IP百创立场,如若转载,请注明出处:创造权威IP 赋能创业者——IP百创

(0)
打赏 微信扫一扫 微信扫一扫 支付宝扫一扫 支付宝扫一扫
上一篇 2024年6月17日
下一篇 2024年6月17日

相关推荐

  • “2022教育智能硬件产业图谱”发布,涌起教育智能硬件新浪潮

    去年“双减”靴子落地,教育行业方向转变,教育智能硬件行业浪潮涌起。经过长期准备,我们推出“心中有海,涌起浪潮”教育智能硬件产业图谱,联合众多相关品牌企业入驻,一起分享传递有价值的行业信息,助力行业内的联系与交流。也欢迎更多优秀企业与从业者加入教育智能硬件产业图谱,共同为教育新时代发力。

    2022年9月26日
  • 广汽日野增资至29.2亿

    天眼查App显示,近日,广汽日野汽车有限公司发生工商变更,新增广州氢云新能源科技投资合伙企业(有限合伙)为股东,公司注册资本由22.2亿人民币增至约29.2亿人民币,同时部分主要人员也发生变更。 广汽日野汽车有限公司成立于2007年11月,法定代表人为严壮立,现由广汽集团、广州氢云新能源科技投资合伙企业(有限合伙)、日野自动车株式会社共同持股。 天眼查信息:…

    2024年9月6日
  • 丝芭传媒涉多个合同纠纷

    #丝芭曾与多位SNH48原成员存在纠纷# #鞠婧祎 到期不续# 6月18日,鞠婧祎发文正式回应与丝芭传媒合约一事,称已明确表达了到期不续的决定,关于丝芭传媒公告中提到的“补充协议条款”“第二阶段合作”都不知情。丝芭传媒对此回应,称之前已明确告知有此补充协议,并确认鞠婧祎收到了相关告知内容。 天眼查App显示,上海丝芭文化传媒集团有限公司成立于2010年5月,…

    2024年6月18日
  • 华为引望已在多地成立子公司

    #盘点华为引望公司商业版图##华为阿维塔合资# 据媒体报道,根据长安汽车8月19日的公告,阿维塔科技将购买华为独自公司引望10%的股权,交易金额为115亿元。本次交易后,阿维塔科技将对引望持股10%,华为持股90%,阿维塔也顺势成为引望的第二大股东。 天眼查App显示,引望关联公司深圳引望智能技术有限公司成立于2024年1月,法定代表人为郑丽英,注册资本10…

    2024年8月20日
  • 冯仑所持990万股权再被冻结

    天眼查法律诉讼信息显示,近日,冯仑新增一则股权冻结信息,股权被执行的企业为洋浦耐基特实业有限公司,冻结股权数额为990万元,冻结期限自2024年7月27日至2027年7月14日,执行法院为北京市第四中级人民法院。值得一提的是,2021年,冯仑所持该公司990万股权曾被冻结,该冻结已于今年7月26日到期。 洋浦耐基特实业有限公司成立于1994年3月,法定代表人…

    2024年8月2日

发表回复

您的电子邮箱地址不会被公开。 必填项已用*标注

联系我们

邮件:939297903@qq.com

工作时间:周一至周五,9:30-18:30,节假日休息

关注微信