华为申请乾崑智驾商标

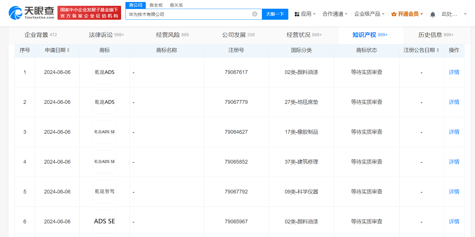
天眼查知识产权信息显示,近日,华为技术有限公司申请多枚“乾崑智驾”“乾崑ADS”“乾崑ADS SE”商标,国际分类为科学仪器、化学原料、橡胶制品等,当前商标状态为等待实质审查。

华为申请乾崑智驾商标

华为申请乾崑智驾商标

据媒体报道,今年4月,华为发布了以智能驾驶为核心的全新智能汽车解决方案品牌——乾崑。近期,华为已申请“乾崑”“乾崑赤兔”“乾崑MDC”“乾崑iDVP”“乾崑车控”等多个商标,目前商标状态均为等待实质审查。

天眼查信息:https://www.tianyancha.com/company/24416401/zhishi

本文来自投稿,不代表创造权威IP 赋能创业者——IP百创立场,如若转载,请注明出处:创造权威IP 赋能创业者——IP百创

(0)
打赏 微信扫一扫 微信扫一扫 支付宝扫一扫 支付宝扫一扫
上一篇 2024年6月24日
下一篇 2024年6月24日

相关推荐

  • 恒大地产等被强制执行13亿

    #恒大地产累计被执行超790亿# 天眼查法律诉讼信息显示,9月4日,恒大地产集团有限公司新增13条被执行人信息,执行标的合计13.16亿余元,涉及票据纠纷、买卖合同纠纷等案件,部分案件被执行人还包括恒大地产集团(深圳)有限公司、深圳市宝鸿房地产开发有限公司等,执行法院为广东省深圳市中级人民法院、江西省南昌市中级人民法院等。 风险信息显示,恒大地产集团有限公司…

    2024年9月5日
  • 樊振东被多方抢注商标

    #樊振东已被注册为商标##樊振东下一把得来个十环# 据媒体报道,在8月1日巴黎奥运会乒乓球男单四分之一决赛中,樊振东以4:3逆转战胜张本智和,晋级四强。在另一场射箭比赛中,解说口误称“樊振东下一把得来个十环”,一度登上热搜。 天眼查知识产权信息显示,自2014年起,“樊振东”“樊振东 FZD”“樊振东 FAN Z.D”曾被多方申请注册商标,申请人包括体育、酒…

    2024年8月2日
  • 厘清“仅退款”的合理“边界”,1688为何要“让生意更简单”?

    全面取消“仅退款”从2025年2月底开始就已经在逐步灰测了。
    实际上,“仅退款”也是有“边界”的。增减之间,思考问题的出发点就是一切“让生意更简单”。

    2025年3月28日
  • #五粮液持股合伙企业成立酒类销售公司# 注册资本5.5亿

    天眼查App显示,近日,四川五泽酒类销售有限公司成立,法定代表人为肖祥发,注册资本5.5亿人民币,经营范围含酒类经营、货物进出口、包装服务、食品销售、国内贸易代理等。股权全景穿透图显示,该公司由宜宾五润股权投资合伙企业(有限合伙)全资持股,后者由宜宾五粮液基金管理有限公司等共同出资。 天眼查信息:https://www.tianyancha.com/comp…

    2024年8月12日
  • 新中式服饰正在失去流量

    社交平台热度熄火,新中式迎来寒流。

    2025年2月17日

发表回复

您的电子邮箱地址不会被公开。 必填项已用*标注

联系我们

邮件:939297903@qq.com

工作时间:周一至周五,9:30-18:30,节假日休息

关注微信