蔚来汽车申请加电咖啡商标

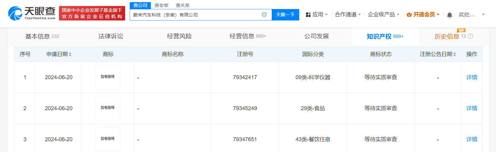
天眼查知识产权信息显示,近日,蔚来汽车科技(安徽)有限公司申请注册3枚“加电咖啡”商标,国际分类为科学仪器、食品、餐饮住宿,当前商标状态均为等待实质审查。据悉,加电咖啡是蔚来汽车在其换电站内提供的附加服务,车主可在换电等待时间内扫码下单购买咖啡,该服务已于上海换电站试运营。

蔚来汽车申请加电咖啡商标

蔚来汽车申请加电咖啡商标

天眼查信息:https://www.tianyancha.com/company/3467033676/zhishi

本文来自投稿,不代表创造权威IP 赋能创业者——IP百创立场,如若转载,请注明出处:创造权威IP 赋能创业者——IP百创

(0)
打赏 微信扫一扫 微信扫一扫 支付宝扫一扫 支付宝扫一扫
上一篇 2024年7月10日 下午4:19
下一篇 2024年7月10日

相关推荐

  • 中国石化增资至1217亿

    天眼查App显示,近日,中国石化发生工商变更,注册资本由约1198.96亿人民币增至约1217.40亿人民币。 中国石油化工股份有限公司成立于2000年2月,法定代表人为马永生,由中国石油化工集团有限公司、香港中央结算(代理人)有限公司、中国证券金融股份有限公司、中国石油天然气集团有限公司等共同持股。 天眼查信息:https://www.tianyancha…

    2024年9月2日
  • 王文银及正威集团等被强执15.2亿

    天眼查法律诉讼信息显示,近日,深圳正威(集团)有限公司、青岛海岳控股有限公司、王文银新增一条被执行人信息,执行标的15.25亿余元,执行法院为山东省青岛市中级人民法院。 深圳正威(集团)有限公司成立于2011年9月,法定代表人为孙学勇,注册资本70亿人民币,由正威控股集团有限公司全资持股。天眼风险信息显示,该公司现存46条被执行人信息,被执行总金额超74亿元…

    2024年7月17日
  • 柔宇科技拖欠2072万工资被罚

    #柔宇科技已拖欠百名员工15个月工资# 天眼查经营风险信息显示,近日,深圳市柔宇科技股份有限公司因拖欠工资,被深圳市龙岗区人力资源局罚款5万元。处罚事由显示,该公司未按时、足额支付员工2022年11月至2024年1月工资总额2072万余元,涉及114人,经责令限期改正,逾期未改正。 深圳市柔宇科技股份有限公司成立于2012年5月,法定代表人为刘自鸿,注册资本…

    2024年6月21日
  • 华为起诉商家侵权索赔50万

    #华为发起商标维权索赔50万# 天眼查法律诉讼信息显示,近日,北京市西城区人民法院向被告刘某、信阳彩韵广告有限公司公告送达起诉状副本及开庭传票等,涉及华为技术有限公司与上述被告等相关商标权纠纷一案,华为公司请求判令两被告立即停止对原告“HUAWEI”商标专用权的侵害,判令被告一赔偿原告经济损失及合理维权费用共50万元。该案定于举证期满后第1日开庭审理。 天眼…

    2024年7月13日
  • 钟薛高被强制执行542万

    #钟薛高及子公司再被强执# 天眼查法律诉讼信息显示,近日,钟薛高食品(上海)有限公司、钟茂(上海)食品科技有限公司新增一则被执行人信息,执行标的542万余元,涉及合同纠纷案件,执行法院为舒城县人民法院。 钟薛高食品(上海)有限公司成立于2018年3月,法定代表人为林盛,注册资本约12.03亿人民币,由Gloryseed HK Limited全资持股。天眼风险…

    2024年8月5日

发表回复

您的电子邮箱地址不会被公开。 必填项已用*标注

联系我们

邮件:939297903@qq.com

工作时间:周一至周五,9:30-18:30,节假日休息

关注微信