揭秘白敬亭咖啡店关联公司

#白敬亭咖啡店关联公司叫鼓捣白##白敬亭咖啡店#

近日,白敬亭在上海开“GoodBai”咖啡店,引发粉丝关注。

揭秘白敬亭咖啡店关联公司

揭秘白敬亭咖啡店关联公司

揭秘白敬亭咖啡店关联公司

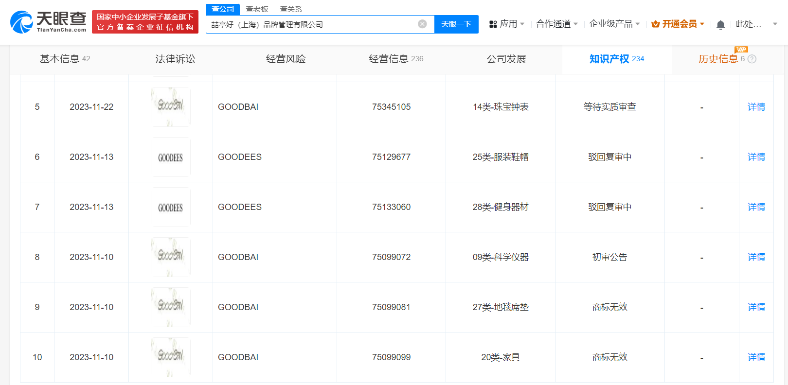
天眼查App显示,该咖啡店关联公司鼓捣白(上海)品牌管理有限公司成立于2023年12月,法定代表人为李敏慧,注册资本10万人民币,经营范围含餐饮服务、食品销售、品牌管理、信息咨询服务、市场营销策划等,由李敏慧全资持股,该公司监事吴琼雯还在白敬亭关联公司喆理亭好(上海)品牌管理有限公司、上海择白品牌管理有限公司任职。值得一提的是,喆亭好公司已申请注册多枚“GoodBai”商标。

天眼查信息:https://www.tianyancha.com/company/6668662853

本文来自投稿,不代表创造权威IP 赋能创业者——IP百创立场,如若转载,请注明出处:创造权威IP 赋能创业者——IP百创

(0)
打赏 微信扫一扫 微信扫一扫 支付宝扫一扫 支付宝扫一扫
上一篇 2024年7月10日
下一篇 2024年7月10日

相关推荐

  • P张若昀遗照黑粉被判道歉赔偿

    天眼查App显示,近日,剑阁县人民法院向梁某公告送达张若昀与其人格权纠纷案件判决书。公告显示,法院判决被告梁某于本判决生效之日起十日内在其豆瓣账号主页发表致歉声明,持续时间为90天,赔偿原告张若昀经济损失(含维权合理支出)3.1万余元、精神损害抚慰金2万元。 近日,北京星权律师事务所也就该案发布案件播报称,被告梁某通过其豆瓣账号将一张经过人为P图处理的张若昀…

    2024年8月27日
  • 物流需求回复势头稳定,目前全国社会物流总额达197.7万亿元

    中国物流与采购联合会29日公布今年1-7月份物流运行数据。数据显示,物流需求恢复势头基本稳定,7月份虽受部分地区高温多雨等短期因素扰动,但物流总额增速环比有所提升,呈现温和回升态势。 今年1-7月份,全国社会物流总额197.7万亿元,同比增长5.5%。7月当月,社会物流总额同比增长5.3%,比上月加快0.1个百分点,扭转了4月以来的回落态势,呈现出温和回升的…

    2024年9月1日
  • #禾川科技成立人形机器人公司# 注册资本5000万

    天眼查App显示,近日,浙江禾川人形机器人有限公司成立,法定代表人为王志斌,注册资本5000万人民币,经营范围含服务消费机器人制造、智能机器人的研发、服务消费机器人销售、输配电及控制设备制造、智能输配电及控制设备销售、人工智能硬件销售、人工智能应用软件开发、信息咨询服务等。股东信息显示,该公司由禾川科技、王志斌分别持股60%、40%。 据媒体报道,近期,禾川…

    2024年8月13日
  • 出色“蓝”不住 华为nova 12系列的先锋时尚态度

    01 全面进化,引领时尚 2023年12月26日,华为nova 12系列正式发布。 新系列将全能人像能力与先锋科技美学巧妙融合,演绎潮流设计语言,引领年轻时尚,带来感官与体验的全面进化。 nova 12系列以全新12号色,展现nova星人的炙热鲜活、先锋时尚;将奢侈品级压花融入机身设计,造就更大更立体的nova压纹,自信笃定;镜头模组布局对称精巧,融合经典美…

    2023年12月26日
  • #奇瑞汽车1亿成立科技新公司# 含多项AI业务

    天眼查App显示,近日,安徽开阳科技有限公司成立,法定代表人为尹同跃,注册资本1亿人民币,经营范围含网络与信息安全软件开发、智能机器人的研发、人工智能基础软件开发、人工智能应用软件开发、云计算装备技术服务、量子计算技术服务、电子专用材料研发、新兴能源技术研发、汽车零部件研发、微特电机及组件制造等,由奇瑞汽车股份有限公司全资持股。 天眼查信息:https://…

    2024年8月20日

发表回复

您的电子邮箱地址不会被公开。 必填项已用*标注

联系我们

邮件:939297903@qq.com

工作时间:周一至周五,9:30-18:30,节假日休息

关注微信