华为已申请尊界商标

#华为已申请数十种界字相关商标##鸿蒙智行第四界叫尊界#

据媒体报道,7月15日晚间,余承东在一场直播中透露鸿蒙智行的第四界为“尊界”,而非此前市场猜测的“傲界”。至此,鸿蒙智行四界分别为问界、智界、享界、尊界。

华为已申请尊界商标

华为已申请尊界商标

华为已申请尊界商标

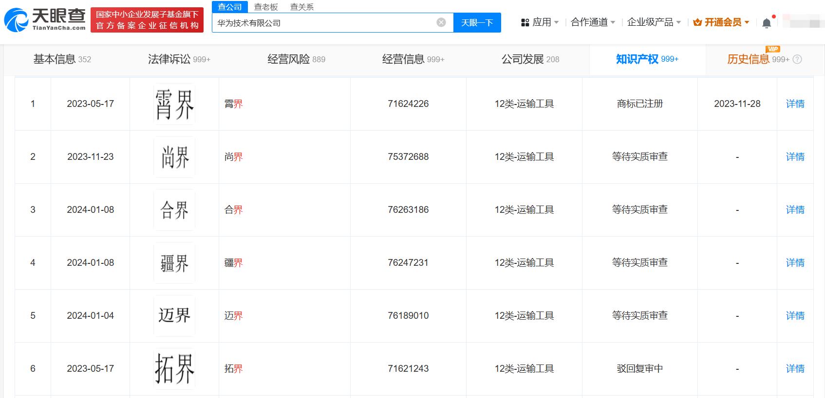
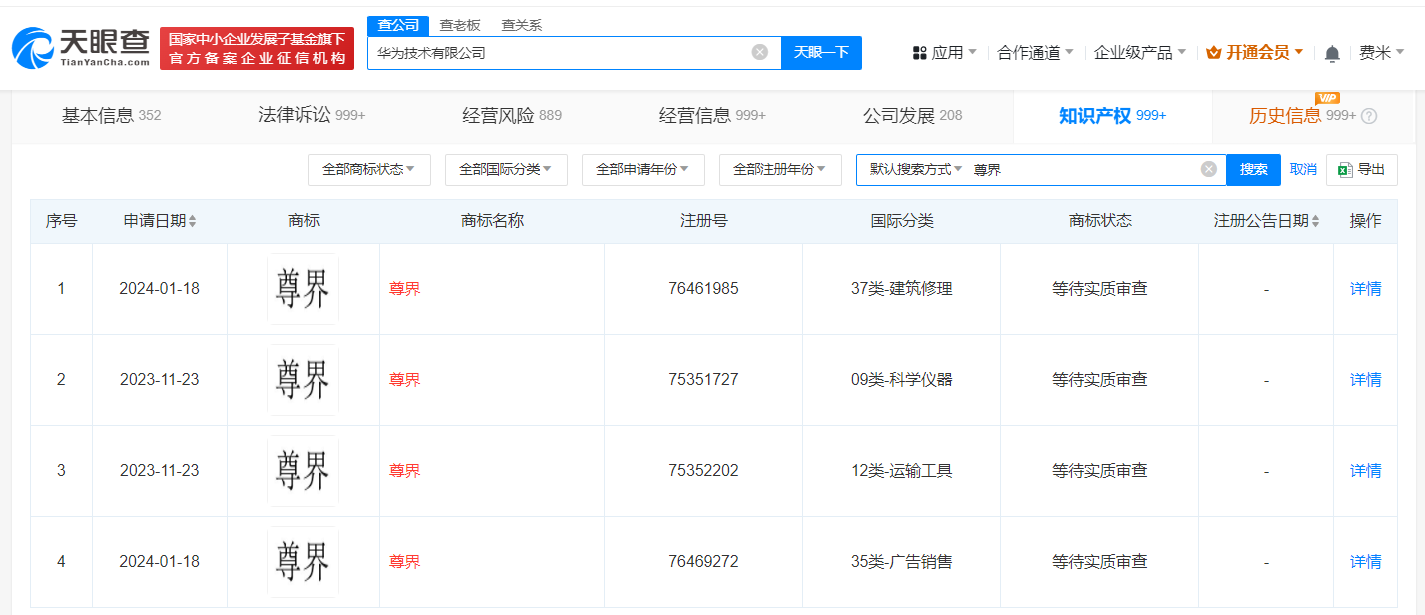
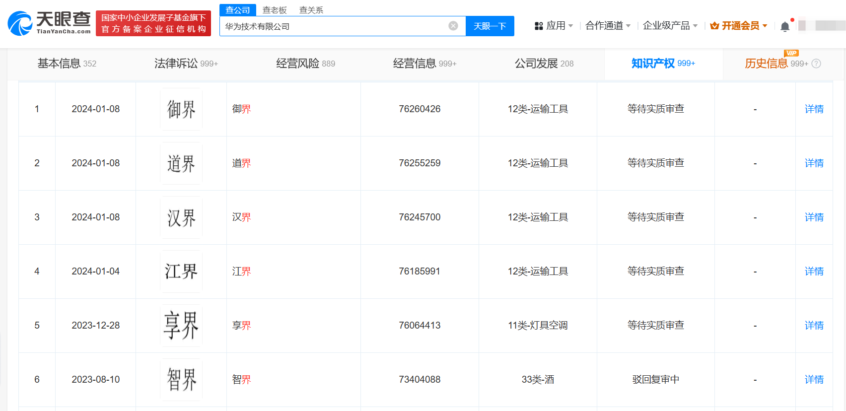
天眼查知识产权信息显示,华为技术有限公司已于去年11月和今年1月申请4枚“尊界”商标,国际分类为建筑修理、科学仪器、运输工具、广告销售,当前商标状态均为等待实质审查。值得一提的是,华为公司除申请上述四界商标外,还申请了数十种界字相关商标,包括“御界”“道界”“江界”“君界”“极界”“幻界”“傲界”“天界”“勇界”“拓界”等,今年6月,该公司还刚刚申请了“世界”商标。目前,华为公司界字相关商标申请数量已达100多枚,国际分类包括运输工具、网站服务、科学仪器等多个类别,其中数十枚商标已成功注册。

天眼查信息:https://www.tianyancha.com/company/24416401/zhishi

本文来自投稿,不代表创造权威IP 赋能创业者——IP百创立场,如若转载,请注明出处:创造权威IP 赋能创业者——IP百创

(0)
打赏 微信扫一扫 微信扫一扫 支付宝扫一扫 支付宝扫一扫
上一篇 2024年7月16日
下一篇 2024年7月16日

相关推荐

  • 美图:辉煌于AI,风险也源于AI

    今年的美图,无疑是港股市场一朵璀璨的星星,在港股市场一路狂飙。而在美图一路狂飙的背后,离不开美图在AI方面的发展。 产品遍地开花,AI为美图打下新江山 如今,AI已经渗透到整个美图公司产品的方方面面,多款APP在AI赋能下登上用户榜。 在影像处理类方面,美团秀秀集成AI功能,支持智能修图、滤镜应用等,大幅提升用户照片质量;美颜相机则提供AI美颜、换装等功能,…

    2025年8月13日
  • 东风汽车宁德时代合资公司经营异常

    #东风时代电池系统公司经营异常# 天眼查App显示,近日,东风时代(武汉)电池系统有限公司因未依照规定的期限公示年度报告,被武汉经济技术开发区市场监督管理局列入经营异常名录。 东风时代(武汉)电池系统有限公司成立于2018年4月,法定代表人为邓春鱼,注册资本1亿人民币,经营范围为开发和制造动力电池系统,并向客户销售其产品以及提供相关售后和技术咨询服务等。股东…

    2024年7月15日
  • 雷军演讲大肆“卖苦”背后,去“手机化”和走向“高端”

    生活就像一杯苦酒,做公司亦是如此。行业好的时候,千人追万人捧,“粉丝营销”、“互联网思维”都会把你当成行业成功案例去模仿;但行业不好的时候,人们就会问,“你是不是在走下坡路”?真是现场版的“小甜甜和牛夫人”。 2022年智能手机行业正处于低谷。IDC的数据显示,全球智能手机出货量已连续四个季度出现下滑,其中,2022年第2季全球智能手机出货量为2.86亿台,…

    2022年8月23日
  • 万辰集团赴港IPO不甘落后

    作为国内两大零食连锁门店巨头,鸣鸣很忙、好想来当前正在抢夺赴港IPO量贩零食第一股,好想来母公司万辰集团已于2025年9月23日正式向港交所递交上市申请。 不过,日前鸣鸣很忙上市备案已经获得了证监会通过。中国证监会12月11日发布《关于湖南鸣鸣很忙商业连锁股份有限公司境外发行上市及境内未上市股份“全流通”备案通知书》,鸣鸣很忙上市备案已获通过。据公布,鸣鸣很…

    2025年12月15日
  • 汪峰新女友公司经营异常

    #森林北名下公司经营异常# 天眼查App显示,近日,新疆森林北网络科技有限公司因未依照规定公示年度报告,被高新技术产业开发区(新市区)市场监督管理局列入经营异常名录。 该公司成立于2023年10月,法定代表人、执行董事兼总经理为李巧(森林北),经营范围包括文化娱乐经纪人服务、互联网销售、项目策划与公关服务等。股东信息显示,该公司由李巧名下乌鲁木齐景域文旅咨询…

    2024年7月23日

发表回复

您的电子邮箱地址不会被公开。 必填项已用*标注

联系我们

邮件:939297903@qq.com

工作时间:周一至周五,9:30-18:30,节假日休息

关注微信