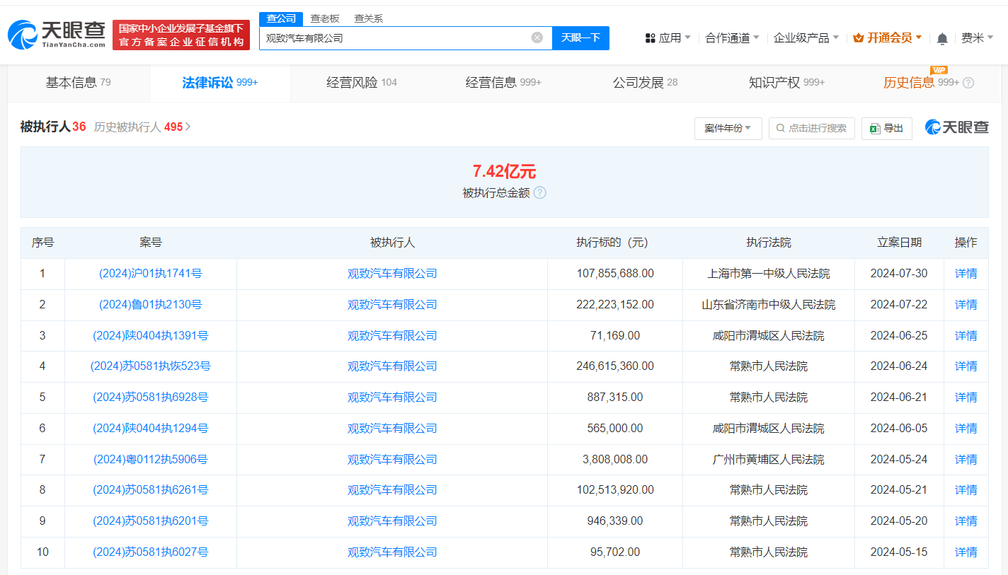
观致汽车被强制执行1.07亿

天眼查法律诉讼信息显示,7月30日,观致汽车有限公司新增一则被执行人信息,执行标的1.07亿余元,涉及房屋租赁合同纠纷案件,执行法院为上海市第一中级人民法院。

观致汽车被强制执行1.07亿

观致汽车被强制执行1.07亿

观致汽车被强制执行1.07亿

风险信息显示,观致汽车有限公司现存30余条被执行人信息,被执行总金额超7.4亿元。此外,该公司还存在多个限制消费令、失信被执行人(老赖)和终本案件信息。

天眼查信息:https://www.tianyancha.com/company/2316396918/sifa

本文来自投稿,不代表创造权威IP 赋能创业者——IP百创立场,如若转载,请注明出处:创造权威IP 赋能创业者——IP百创

(0)
打赏 微信扫一扫 微信扫一扫 支付宝扫一扫 支付宝扫一扫
上一篇 2024年7月31日
下一篇 2024年7月31日

相关推荐

  • 智谱AI申请注册清影商标

    天眼查知识产权信息显示,近日,北京智谱华章科技有限公司申请注册3枚“清影”商标和1枚“智谱清影”商标,国际分类为科学仪器、教育娱乐和网站服务,当前商标状态为等待实质审查。 据媒体报道,不久前,智谱AI发布AI生成视频模型清影(Ying),其生成6秒高精度视频只需要30秒时间。 天眼查信息:https://www.tianyancha.com/company/…

    2024年8月14日
  • 与同行争夺白牌商品市场 京东补贴100亿扶持1万家产业带工厂

    11月8日,京东旗下特价购物品牌“京喜自营”首次披露业务详情,发布“白牌国货工厂百亿扶持计划”。

    2024年11月8日
  • 盐津铺子增资至2.7亿

    天眼查App显示,近日,盐津铺子发生工商变更,注册资本由约1.96亿人民币增至约2.74亿人民币。 盐津铺子食品股份有限公司成立于2005年8月,法定代表人为张学武,由湖南盐津铺子控股有限公司、张学文、张学武、香港中央结算有限公司等共同持股。 天眼查信息:https://www.tianyancha.com/company/368572097

    2024年9月2日
  • 美邦服饰两家子公司经营异常

    天眼查经营风险信息显示,近日,兰州美特斯邦威服饰有限责任公司、沈阳美特斯邦威服饰有限公司因未依照规定公示年度报告,分别被兰州市城关区市场监督管理局、沈阳市沈河区市场监督管理局列入经营异常名录。 兰州美特斯邦威服饰有限责任公司成立于2008年7月,法定代表人为徐晓永,注册资本500万人民币。沈阳美特斯邦威服饰有限公司成立于2003年7月,法定代表人为王民,注册…

    2024年7月10日
  • “谷子经济”太火了!闲鱼着急“吃谷”!

    万万没想到,小小的“谷子”引得无数年轻人狂热追捧,撬动了规模超千亿元的市场。 在线下里,谷子专卖店如雨后春笋般遍地开花,成为了年轻人争相前往的热门打卡地。店内,各式各样的谷子商品琳琅满目,热门IP的周边产品遭到粉丝们的疯抢,常常迅速售罄。在线上,电商平台与二手交易平台同样热闹非凡,粉丝们为了得到自己心仪的谷子,一掷千金。 在此消费态势下,谷子经济保持着高速增…

    2025年2月12日

发表回复

您的电子邮箱地址不会被公开。 必填项已用*标注

联系我们

邮件:939297903@qq.com

工作时间:周一至周五,9:30-18:30,节假日休息

关注微信