陈梦父母公司已注册陈梦名字商标

#陈梦父母公司已注册HOPEWANG商标##陈梦已开办乒乓球学校#

据报道,陈梦在巴黎奥运会上取得2枚金牌,随后,其在2022年11月开办的陈梦(国科大)乒乓球特色学校再次引发关注。

陈梦父母公司已注册陈梦名字商标

陈梦父母公司已注册陈梦名字商标

陈梦父母公司已注册陈梦名字商标

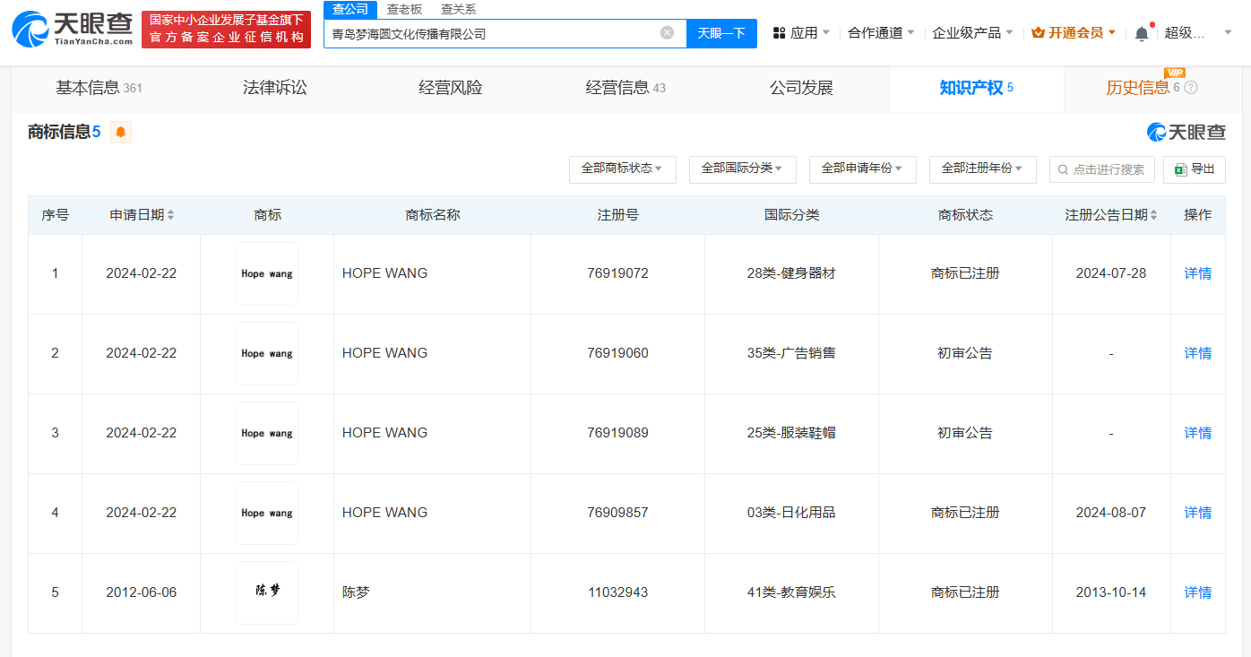
天眼查App显示,青岛梦海圆文化传播有限公司已成功注册1枚“陈梦”商标,国际分类为教育娱乐。近期,该公司申请的健身器材、日化用品类“HOPE WANG”商标已成功注册。该公司成立于2017年11月,法定代表人为逄敏(陈梦母亲),经营范围包括文艺创作、教育咨询服务、文化娱乐经纪人服务等,由逄敏和陈樑(陈梦父亲)共同持股。

天眼查信息:https://www.tianyancha.com/company/3119549098/zhishi

本文来自投稿,不代表创造权威IP 赋能创业者——IP百创立场,如若转载,请注明出处:创造权威IP 赋能创业者——IP百创

(0)
打赏 微信扫一扫 微信扫一扫 支付宝扫一扫 支付宝扫一扫
上一篇 2024年8月13日 下午5:06
下一篇 2024年8月13日 下午5:14

相关推荐

  • AI手机看荣耀:荣耀MagicOS 9.0正式发布,开启手机自动驾驶新时代

    【中国北京,2024年10月23日】10月23日,荣耀在MagicOS 9.0发布会及开发者大会上正式发布行业首个搭载智能体的个人化全场景AI操作系统——MagicOS 9.0,推出全新自研魔法大模型家族,并宣布YOYO助理正式升级为YOYO智能体。发布会上,荣耀全新智能体商店正式上线,YOYO智能体将携手百模生态,共创智能新世界。此外,荣耀还携手中国信通院…

    2024年10月23日
  • 星巴克准备同中国本土咖啡开打价格战?7年6次换帅的“巨头”将何去何从

    随着瑞幸、库迪等中国本土咖啡品牌的崛起,“9块9喝咖啡”的概念已经深入消费者的内心,曾经是“高端”象征的星巴克则在中国市场“节节败退”,市场份额大减。 为了在最为重要的北美和中国市场重整旗鼓,星巴克从墨西哥连锁速食品牌Chipotle挖角成功,布莱恩·尼克将从9月起正式担任星巴克的新CEO。消息宣布当天(8月13日),星巴克股价应声大涨24.5%,资本市场普…

    2024年8月28日
  • 叮咚买菜首次全年盈利!苦日子终于熬出头了?

    在生鲜电商行业竞争激烈、盈利困难的普遍环境下,叮咚买菜的盈利是行业迎来曙光的标志,还是仅仅是个别企业的偶然成功? 近期,叮咚买菜发布了截至12月31日的2024年第四季度财报。财报显示,财报显示,叮咚买菜Q4实现了65.5亿元GMV,同比增长18.4%;收入59.1亿元,同比增长18.3%。GAAP标准下实现了0.9亿元净利润,净利润率1.6%。 此外,20…

    2025年3月12日
  • “魔兽世界”国服开服,大量玩家热情涌入致服务器短暂崩溃

    《魔兽世界》作为一款经典游戏,拥有庞大的玩家基础,再度回归的国服自然吸引了众多玩家回归。此次国服在游戏内容、社交系统等方面进行了优化调整,开服还推出了“地心之战”版本前夕内容,以及丰富的活动和优惠套餐。 原定于8月1日中午12点开服的《魔兽世界》国服,在当日7点惊喜提前开服,尽管开服时间提前,但玩家们的热情并未减弱,大量玩家涌入服务器,使得部分玩家遭遇登录难…

    2024年8月2日
  • 华为发布 “4+10+N”中小企业智能化方案,打通迈向智能世界“最后一公里”

    [中国,上海,2025年9月17日] 以“华为坤灵,助力中小企业跃升智能化”为主题的华为坤灵秋季新品发布会在上海举办。华为常务董事汪涛发布了 “4+10+N”中小企业智能化方案,以一站式场景化方案助力中小企业打通迈向智能世界的“最后一公里”。同时,华为还面向中国分销伙伴发布“百&万计划”,发展100家分销钻石伙伴、10000家精英工程商,全面助力中小…

    2025年9月18日

发表回复

您的电子邮箱地址不会被公开。 必填项已用*标注

联系我们

邮件:939297903@qq.com

工作时间:周一至周五,9:30-18:30,节假日休息

关注微信