许昕公司叫背后击球

#许昕公司已登记背后击球作品著作权#

据报道,2024巴黎奥运会乒乓球男团决赛,许昕担任解说嘉宾时妙语频出,火爆全网。有网友发现,许昕开的乒乓球馆名为“Xuperman”,Logo是在做“背后击球”动作的人像。据悉,许昕在对阵马龙的比赛中上演背后击球,成为许多球迷心目中的名场面。

许昕公司叫背后击球

许昕公司叫背后击球

许昕公司叫背后击球

许昕公司叫背后击球

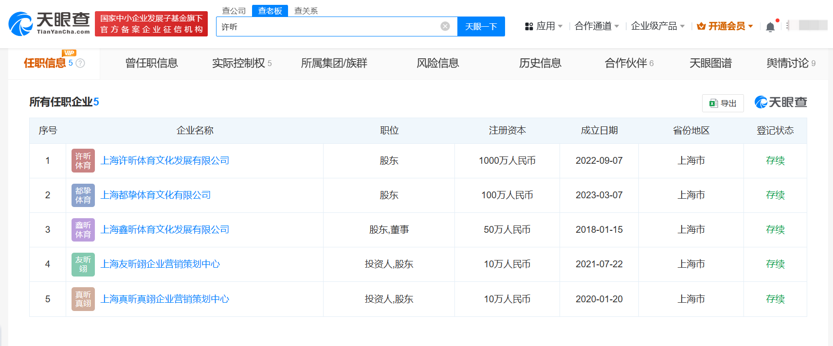
天眼查App显示,许昕名下关联5家企业,包括上海许昕体育文化发展有限公司、上海都挚体育文化有限公司、上海友昕翊企业营销策划中心等。其中,上海友昕翊企业营销策划中心已成功注册多枚“许昕”“Xuperman”文字及图形商标。值得一提的是,上海许昕体育文化发展有限公司还投资成立了上海许昕背后击球体育文化发展有限公司,后者即为“许昕体育Xuperman”关联公司。知识产权信息显示,该公司还登记了“Xuperman 背后击球”美术作品著作权。

天眼查信息:https://www.tianyancha.com/company/5691563357/zhishi

本文来自投稿,不代表创造权威IP 赋能创业者——IP百创立场,如若转载,请注明出处:创造权威IP 赋能创业者——IP百创

(0)
打赏 微信扫一扫 微信扫一扫 支付宝扫一扫 支付宝扫一扫
上一篇 2024年8月13日 下午5:11
下一篇 2024年8月13日

相关推荐

  • 《要久久爱》《翻译官》连播,2024现偶能否“逆风翻盘”?

    ​作者| 糖炒山楂 编辑| 赤木瓶子 市场永远期待触底反弹的奇迹。那么这一次,会是现偶吗? 开年档的天然利好,自然是市场绝地反击的第一战。截至目前,市场在播的现偶就有三部:《你也有今天》《我们的翻译官》和《要久久爱》。 三部剧自带市场基本盘:前两部剧出品公司分别为柠萌影视和华策影视,在都市题材上有着稳定的市场占有和口碑输出,2023年豆瓣8.2和8.7的《爱…

    行业动态 2024年1月23日
  • #华电煤业集团在成都成立智能装备公司# 注册资本2亿

    天眼查App显示,近日,华电煤业集团成都智能装备有限公司成立,法定代表人为孙长春,注册资本2亿人民币,经营范围含智能机器人的研发、特殊作业机器人制造、工业机器人制造、人工智能应用软件开发、人工智能硬件销售、人工智能理论与算法软件开发、信息系统集成服务等,由华电煤业集团有限公司全资持股。 天眼查信息:https://www.tianyancha.com/com…

    行业动态 2024年8月19日
  • 郭敬明借《云之羽》归来:永远青春,永远“小时代”?

    ​作者| Mia 编辑| 把青 虞书欣、张凌赫在《苍兰诀》之后再携手的《云之羽》,空降播出,在9月热度节节攀升。 截至发稿时,其爱奇艺站内最高热度值达9412,揽下多个微博热搜,多次登上抖音快手热榜和豆瓣实时热门榜,开播11天9次拿下猫眼剧集热度总榜日冠。 卢昱晓、程磊等副CP涨粉之外,本就自带争议的导演郭敬明引发了更多关注,整部剧集和郭敬明有着千丝万缕的联…

    行业动态 2023年9月12日
  • 安徽首店!追觅洗衣机旗舰店登陆阜阳,邀您沉浸式体验高端洗护

    【2025年9月12日,安徽阜阳】 —— 安徽首个,追觅洗衣机阜阳旗舰店今日在安徽阜阳颍州区京东城市旗舰店正式开业!这不仅是追觅布局洗护市场的又一里程碑,也标志着追觅以创新科技和高端美学驱动的全新零售体验,正式落地城市核心商圈。  安徽首站,沉浸式解锁首创黑科技 作为安徽首家洗衣机城市旗舰店,本次开业聚焦“高端洗护”主题,全面展示追觅在智能洗护领域的最新成果…

    2025年9月12日
  • 上海世茂建设公司等被恢复执行5.4亿

    天眼查App显示,近日,上海世茂建设有限公司、泰州世茂酒店有限公司、合肥悦盈置业有限公司新增一则恢复执行信息,执行标的5.4亿余元,执行法院为湖北省武汉市中级人民法院。 上海世茂建设有限公司成立于2001年3月,法定代表人为颜华,注册资本31.4亿人民币,经营范围为房地产开发、经营、旧房改造及经营、物业管理、室内装潢、企业管理咨询。 股东信息显示,该公司由世…

    行业动态 2025年11月27日

发表回复

您的电子邮箱地址不会被公开。 必填项已用*标注

联系我们

邮件:939297903@qq.com

工作时间:周一至周五,9:30-18:30,节假日休息

关注微信