绿地控股集团等被强执4.1亿

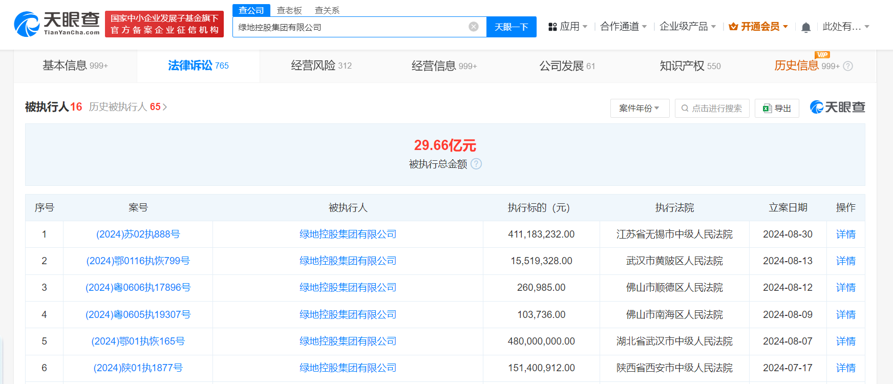
天眼查法律诉讼信息显示,近日,绿地控股集团有限公司、南京峰晖置业有限公司、绿地集团南京峰创置业有限公司、绿地地产(济南)有限公司等新增一条被执行人信息,执行标的4.11亿余元,涉及民间借贷纠纷案件,执行法院为江苏省无锡市中级人民法院。

绿地控股集团等被强执4.1亿

绿地控股集团等被强执4.1亿

绿地控股集团有限公司成立于1992年7月,法定代表人为张玉良,注册资本约226.5亿人民币,由绿地控股、绿地金创科技集团有限公司共同持股。风险信息显示,该公司现存16条被执行人信息,被执行总金额超29亿元,此外还存在多条股权冻结信息。

天眼查信息:https://www.tianyancha.com/company/22271684/sifa

本文来自投稿,不代表创造权威IP 赋能创业者——IP百创立场,如若转载,请注明出处:创造权威IP 赋能创业者——IP百创

(0)
打赏 微信扫一扫 微信扫一扫 支付宝扫一扫 支付宝扫一扫
上一篇 2024年9月2日
下一篇 2024年9月2日

相关推荐

  • 韩安冉与母亲曾在前夫公司任职

    #韩安冉与母亲已无商业关联##韩安冉要起诉妈妈# 今日,韩安冉称要起诉妈妈,涉及南京一处价值2000万房产。 天眼查App显示,韩安冉共关联6家企业,其中3家为存续状态,包括广州洁冉生物科技有限公司、杭州冉西品牌运营管理有限公司、杭州彦恩医疗美容诊所有限公司。韩安冉在3家公司担任执行董事、监事等职务,并在前2家公司持股。值得一提的是,韩安冉曾与母亲唐英英曾共…

    2024年8月9日
  • #中国能建在成都成立能源服务公司# 注册资本1亿

    天眼查App显示,近日,中能建综合能源服务(成都)有限公司成立,法定代表人为尉涛,注册资本1亿人民币,经营范围含热力生产和供应,储能技术服务,矿产资源储量评估服务,太阳能发电技术服务,风力发电技术服务,新兴能源技术研发,合同能源管理,碳减排、碳转化、碳捕捉、碳封存技术研发等。股权全景穿透图显示,该公司由中能建数字科技集团有限公司全资持股,后者为中国能建全资子…

    2024年9月6日
  • 周震南父亲公司再次经营异常

    #周震南父亲公司连续3年经营异常# 天眼查经营风险信息显示,近日,四川正善实业股份有限公司因未依照规定的期限公示年度报告,被资阳市市场监督管理局列入经营异常名录。目前,该公司已连续3年因未公示年报被列入经营异常名录。值得一提的是,2019年,该公司已因被列入经营异常名录届满3年仍未履行相关义务,被列入严重违法失信企业名单。 四川正善实业股份有限公司成立于20…

    2024年7月16日
  • 从达人长效经营中,找到快手电商万亿GMV后的新脉络

    5月初,一位三农领域的短视频创作者,第一次尝试直播带货。这位名为“王北四在东北”的东北主播,此前凭借拍摄农村生活日常,积累了200万快手粉丝,但从未做过带货。 出乎所有人的意料,王北四第一次直播带货就拿到了一份惊艳的成绩——13小时的直播带货,成交GMV接近1000万。 这是一个吸引了各个领域创作者和带货主播们关注的热点事件。这种从内容成功跨越到电商的示范效…

    互联网 2024年5月17日
  • #星铁内测泄密玩家刊文致歉# 此前被判赔50万

    天眼查App显示,近日,法院刊登陈某向上海米哈游影铁科技有限公司及关联公司致歉的声明。声明显示,陈某在未取得米哈游许可的情况下,通过个人QQ账号泄漏、传播了米哈游尚未公开的游戏内容,给米哈游以及《崩坏:星穹铁道》游戏的运营造成了不良影响,在此向米哈游郑重道歉。陈某已删除所有侵权内容,并承诺不再泄漏、传播米哈游尚未公开的游戏内容,不再以任何形式侵犯米哈游的合法…

    2024年8月12日

发表回复

您的电子邮箱地址不会被公开。 必填项已用*标注

联系我们

邮件:939297903@qq.com

工作时间:周一至周五,9:30-18:30,节假日休息

关注微信