合创汽车所持1亿股权被冻结

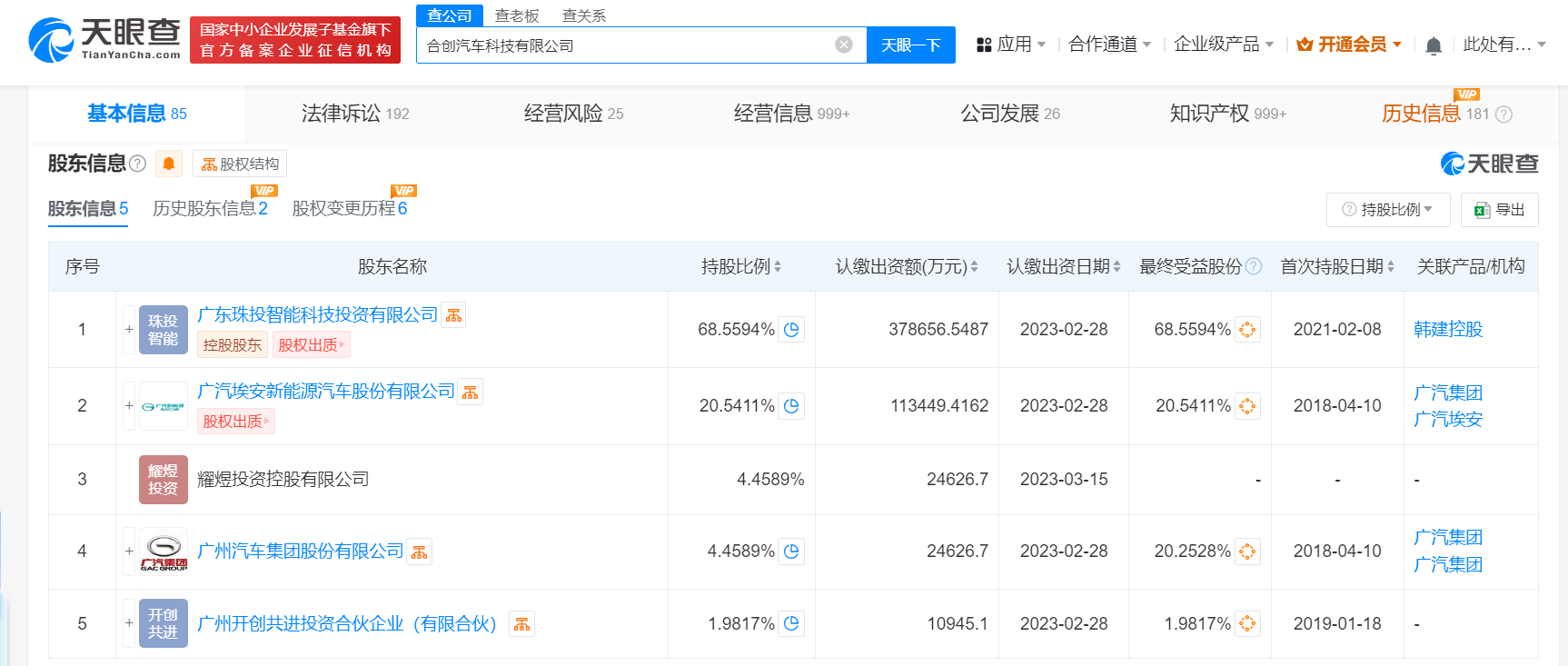
天眼查法律诉讼信息显示,近日,合创汽车科技有限公司新增3条股权冻结信息,股权被执行的企业均为广州合创汽车销售服务有限公司,冻结股权数额分别为1亿人民币、2000万人民币、500万人民币,冻结期限均为3年,执行法院为广州市南沙区人民法院。

合创汽车所持1亿股权被冻结

合创汽车所持1亿股权被冻结

合创汽车所持1亿股权被冻结

合创汽车科技有限公司成立于2018年4月,法定代表人为李志红,注册资本约55.23亿人民币,由广东珠投智能科技投资有限公司、广汽埃安新能源汽车股份有限公司、广汽集团等共同持股。

天眼查信息:https://www.tianyancha.com/company/3173063307

本文来自投稿,不代表创造权威IP 赋能创业者——IP百创立场,如若转载,请注明出处:创造权威IP 赋能创业者——IP百创

(0)
打赏 微信扫一扫 微信扫一扫 支付宝扫一扫 支付宝扫一扫
上一篇 2024年9月6日
下一篇 2024年9月6日

相关推荐

  • 揭秘网红做鼻子翻车涉事美容院

    #网红做鼻子翻车美容院成立不满2年##鼻血馒头# 据媒体报道,网红秦新宇做鼻子翻车发歌维权,《还我妈生鼻》登上热歌榜。 天眼查App显示,涉事美容院为青岛欧雅医疗美容有限公司,其成立于2022年10月,法定代表人为王妮妮,注册资本10万人民币,经营范围为医疗美容服务、第二类医疗器械销售、第一类医疗器械销售,由程向华、王妮妮共同持股。2023年年报显示,该公司…

    2024年7月26日
  • 科大讯飞在江苏成立两家新公司

    天眼查App显示,7月31日,讯飞星原(南京)科技有限公司、江苏讯智未来信息科技有限公司成立,法定代表人分别为刘江、黄飞云,注册资本分别为1亿人民币、3000万人民币,经营范围均含人工智能应用软件开发、人工智能理论与算法软件开发、人工智能通用应用系统、互联网数据服务、信息系统集成服务等。股东信息显示,两公司均由科大讯飞全资持股。 天眼查信息:https://…

    2024年8月1日
  • #奇瑞汽车在石家庄成立动力电池公司# 注册资本2000万

    天眼查App显示,近日,石家庄奇达动力电池科技有限公司成立,法定代表人为袁毅,注册资本2000万人民币,经营范围含电池制造、电池销售、机动车修理和维护,普通货物仓储服务等。股东信息显示,该公司由奇瑞汽车旗下芜湖奇达动力电池系统有限公司全资持股。 天眼查信息:https://www.tianyancha.com/company/7076202023

    2024年8月12日
  • 谢霆锋锋味旗下一公司注销

    天眼查App显示,近日,锋收(上海)餐饮管理有限公司经营状态由存续变更为注销。此前,该公司已发布注销备案公告,注销原因为决议解散。 锋收(上海)餐饮管理有限公司成立于2021年11月,法定代表人为赵雷,注册资本500万人民币,经营范围含餐饮管理、信息咨询服务、企业管理咨询、市场营销策划、社会经济咨询、食品销售等。股东信息显示,该公司由锋味国际有限公司、王维宏…

    2024年8月26日
  • 英特尔入股立讯精密旗下公司

    #英特尔入股东莞立讯技术公司# 天眼查App显示,近日,立讯精密旗下东莞立讯技术有限公司发生工商变更,股东新增英特尔(中国)有限公司,同时,注册资本由约5.71亿人民币增至约5.89亿人民币。 东莞立讯技术有限公司成立于2017年4月,法定代表人为熊藤芳,经营范围含通信设备制造,通信设备销售,光通信设备制造,光通信设备销售,变压器、整流器和电感器制造,配电开…

    2024年6月17日

发表回复

您的电子邮箱地址不会被公开。 必填项已用*标注

联系我们

邮件:939297903@qq.com

工作时间:周一至周五,9:30-18:30,节假日休息

关注微信