蜂鸟音乐1枚邓紫棋相关商标被撤销

#蜂鸟音乐1枚GEM商标被撤销#

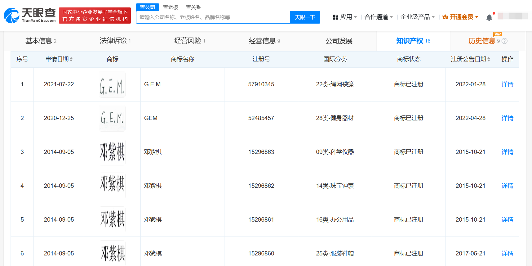
天眼查知识产权信息显示,近日,蜂鸟音乐有限公司新增关于第15296857号“G.E.M.”商标撤销复审决定书。文书显示,知识产权局认为,蜂鸟音乐有限公司提供的证据不能证明注册人于指定的三年期间内在“组织表演(演出)”等全部核定服务上使用了该注册商标,根据相关规定,决定撤销该注册商标,原商标注册证作废。

蜂鸟音乐1枚邓紫棋相关商标被撤销

蜂鸟音乐1枚邓紫棋相关商标被撤销

蜂鸟音乐1枚邓紫棋相关商标被撤销

天眼查显示,上述商标为教育娱乐类“G.E.M.”商标,蜂鸟公司曾于2016年完成注册。值得一提的是,蜂鸟公司目前还持有多个类别的“邓紫棋”及“G.E.M.”商标。

天眼查信息:https://www.tianyancha.com/company/3081465780/zhishi

本文来自投稿,不代表创造权威IP 赋能创业者——IP百创立场,如若转载,请注明出处:创造权威IP 赋能创业者——IP百创

(0)
打赏 微信扫一扫 微信扫一扫 支付宝扫一扫 支付宝扫一扫
上一篇 2024年7月13日 下午3:39
下一篇 2024年7月13日

相关推荐

  • 代工之殇与资本退潮:Babycare要在存量市场杀出条血路

    全球父母对高品质、合理价格母婴用品的共同需求,为中国母婴品牌出海创造了机遇。 10月11日,Babycare在中国香港的首家门店落户于维多利亚港畔的地标性商业体K11 MUSEA。今年9月至10月期间,Babycare以“25店齐开”的节奏加速扩张,全球门店总数已突破260家。 在此之前,Babycare的“明星产品”紫盖湿巾已进入日本市场约8000家线下门…

    2025年11月5日
  • 宁德时代增资至43.9亿

    #宁德时代增资# 天眼查App显示,近日,宁德时代发生工商变更,注册资本由约24.42亿人民币增至约43.99亿人民币。 宁德时代新能源科技股份有限公司成立于2011年12月,法定代表人为曾毓群,由厦门瑞庭投资有限公司、黄世霖、香港中央结算有限公司、宁波联合创新新能源投资管理合伙企业(有限合伙)等共同持股。 天眼查信息:https://www.tianyan…

    2024年7月25日
  • 揭秘油罐车混装涉事方汇福粮油

    #汇福粮油在冀辽苏有多家公司##汇福粮油董事长身家72亿# 近日,媒体报道罐车卸完煤制油直接装运食用油,引发舆论高度关注,其中涉事企业包括汇福粮油集团。据2024年《胡润全球富豪榜》显示,汇福粮油集团董事长石克荣以72亿元身家上榜。 天眼查App显示,三河汇福粮油集团有限公司成立于2004年6月,法定代表人为石克荣,注册资本8.3亿人民币,由石克荣、石晟阳共…

    2024年7月10日
  • #阿里影业等在北京成立影业新公司# 注册资本100万

    天眼查App显示,近日,北京自由能量影业有限公司成立,法定代表人为段红爽,注册资本100万人民币,经营范围含电影摄制服务、组织文化艺术交流活动、文化娱乐经纪人服务、电视剧发行等。股东信息显示,该公司由浙江东阳阿里巴巴影业有限公司、浙江拉格朗日影业有限公司共同持股。 天眼查信息:https://www.tianyancha.com/company/711026…

    2024年9月5日
  • #中国康富国家电投在广东成立合伙企业# 出资额17.48亿

    天眼查App显示,近日,电融新能源发展(广东)合伙企业(有限合伙)成立,执行事务合伙人为国电投绿电河南新能源科技有限公司,出资额17.48亿人民币,经营范围为太阳能发电技术服务、新兴能源技术研发、节能管理服务,中国康富及国家电投旗下国家电投集团河南电力有限公司、国电投绿电河南新能源科技有限公司共同出资。 天眼查信息:https://www.tianyanch…

    2024年8月19日

发表回复

您的电子邮箱地址不会被公开。 必填项已用*标注

联系我们

邮件:939297903@qq.com

工作时间:周一至周五,9:30-18:30,节假日休息

关注微信