宏胜饮料集团已注册宗馥莉商标

#宗馥莉商标曾遭多方抢注#

据媒体报道,7月18日,网上流传娃哈哈集团副董事长宗馥莉的辞职信。对此,一位接近娃哈哈集团的知情人士告诉记者情况属实,但事发突然,公司高管此前不知情,目前公司股东、管理层正在进一步协商处理。

宏胜饮料集团已注册宗馥莉商标

宏胜饮料集团已注册宗馥莉商标

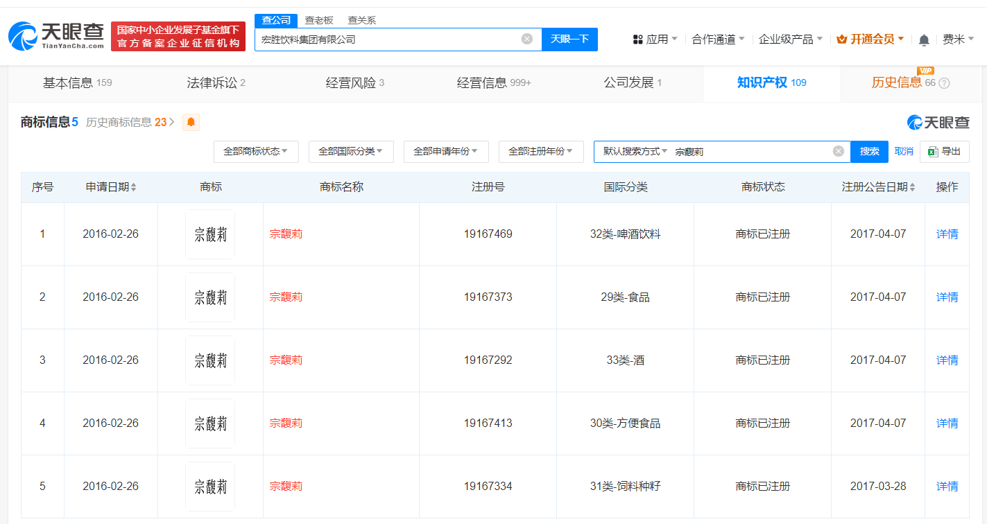
天眼查知识产权信息显示,由宗馥莉任执行董事的宏胜饮料集团有限公司于2016年申请数枚“宗馥莉”商标,国际分类为啤酒饮料、食品、酒、方便食品和饲料种籽,上述商标已于2017年成功注册。此外,值得一提的是,河南一会务服务公司、嘉兴一文化传播公司以及自然人何某也曾申请注册“宗馥莉”商标,但这些商标多被驳回,目前处于无效状态。

天眼查信息:https://www.tianyancha.com/search/t400?key=%E5%AE%97%E9%A6%A5%E8%8E%89

本文来自投稿,不代表创造权威IP 赋能创业者——IP百创立场,如若转载,请注明出处:创造权威IP 赋能创业者——IP百创

(0)
打赏 微信扫一扫 微信扫一扫 支付宝扫一扫 支付宝扫一扫
上一篇 2024年7月19日
下一篇 2024年7月19日

相关推荐

  • 年度AI十大趋势报告出炉!MEET2025智能未来大会带你玩转科技新世界

    今天上午,MEET2025智能未来大会在北京隆重召开。

    2024年12月11日
  • 衢州小米影业公司减资

    天眼查App显示,近日,衢州小米影业有限责任公司发生工商变更,注册资本由2亿人民币减至5900万人民币。该公司成立于2016年7月,法定代表人为王川,经营范围含影视策划、组织文化艺术交流活动、企业策划、企业管理咨询、会议服务、通讯设备销售等。股东信息显示,该公司由瓦力信息技术(北京)有限公司全资持股。 天眼查信息:https://www.tianyancha…

    2024年8月28日
  • 万达集团所持2.9亿股权被冻结

    天眼查法律诉讼信息显示,近日,大连万达商业管理集团股份有限公司新增一条股权冻结信息,被执行人为大连万达集团股份有限公司,冻结股权数额2.9亿余元,冻结期限自2024年9月6日至2027年9月5日,执行法院为成渝金融法院。 大连万达商业管理集团股份有限公司成立于2002年9月,法定代表人为肖广瑞,注册资本约271.6亿人民币,由大连万达集团股份有限公司、王健林…

    2024年9月9日
  • 深陷泥潭的家具行业,靠吃“老本”艰难求生

    家居行业趋冷,上游遍布全国各地的家具产业带,纷纷“渡劫”。

    2022年8月23日
  • 美邦服饰在广州成立数字科技公司

    #美邦服饰已成立多家数字产业公司# 天眼查App显示,近日,广州美邦数字科技有限公司成立,注册资本1000万人民币,法定代表人为张小英,经营范围含体育用品及器材批发、物联网技术服务、人工智能双创服务平台、服装服饰批发、服装服饰零售、日用品批发、日用品销售、互联网销售等,由美邦服饰及旗下上海潮范电子商务有限公司分别持股90%、10%。 值得一提的是,美邦服饰去…

    2024年7月5日

发表回复

您的电子邮箱地址不会被公开。 必填项已用*标注

联系我们

邮件:939297903@qq.com

工作时间:周一至周五,9:30-18:30,节假日休息

关注微信