绿地地产等被强制执行6.9亿

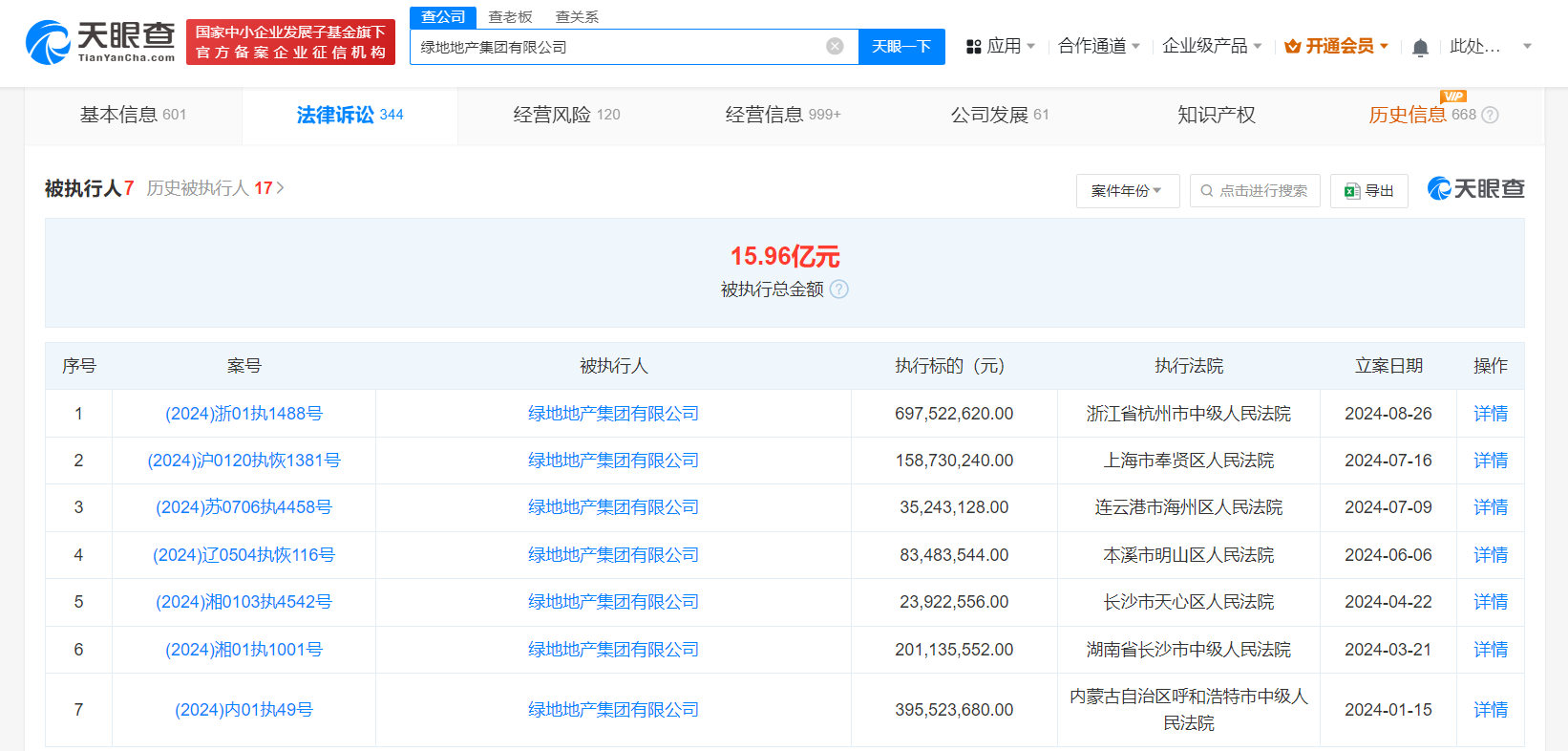
天眼查法律诉讼信息显示,近日,绿地地产集团有限公司、绿地控股集团宁波绿地置业有限公司、杭州绿地锦城房地产开发有限公司新增一条被执行人信息,执行标的6.9亿余元,涉及金融借款合同纠纷案件,执行法院为浙江省杭州市中级人民法院。

绿地地产等被强制执行6.9亿

绿地地产等被强制执行6.9亿

绿地地产等被强制执行6.9亿

绿地地产集团有限公司成立于2010年3月,法定代表人为徐冲昊,注册资本50亿人民币,由绿地控股集团有限公司、绿地金创科技集团有限公司共同持股。天眼风险信息显示,该公司现存多个被执行人信息,被执行总金额超15.9亿余元,此外还存在限制消费令及股权冻结信息。

天眼查信息:https://www.tianyancha.com/company/17077929

本文来自投稿,不代表创造权威IP 赋能创业者——IP百创立场,如若转载,请注明出处:创造权威IP 赋能创业者——IP百创

(0)
打赏 微信扫一扫 微信扫一扫 支付宝扫一扫 支付宝扫一扫
上一篇 2024年8月28日
下一篇 2024年8月28日

相关推荐

  • 中国移动申请AI图形商标

    天眼查知识产权信息显示,近日,中国移动通信集团有限公司申请多枚AI图形相关商标,国际分类含网站服务、社会服务、科学仪器等,当前商标状态为等待实质审查。 天眼查信息:https://www.tianyancha.com/company/3122988088/zhishi

    2024年8月14日
  • 如祺出行关联公司增资至3.7亿美元

    天眼查App显示,近日,如祺出行关联公司广州宸祺出行科技有限公司发生工商变更,公司注册资本由3亿美元增至3.7亿美元。 该公司成立于2019年6月,法定代表人为高锐,经营范围含网络技术服务、软件开发、信息系统集成服务、信息技术咨询服务、计算机系统服务、数据处理和存储支持服务等。股东信息显示,该公司由宸祺(香港)科技有限公司全资持股。 天眼查信息:https:…

    2024年8月19日
  • 智谱AI等成立投资基金# 出资额2.6亿

    天眼查App显示,近日,北京星连鼎森股权投资基金合伙企业(有限合伙)成立,执行事务合伙人为北京星连肇基私募基金管理有限责任公司,出资额2.6亿人民币,经营范围为以私募基金从事股权投资、投资管理、资产管理等活动。合伙人信息显示,该基金由智谱AI关联公司北京智谱华章科技有限公司,以及成都京成燕北科技有限公司、北京星连肇基私募基金管理有限责任公司共同出资。 天眼查…

    2024年7月18日
  • 中国对新西兰免签,新西兰前总理:爱吃中国菜的外国人有福了

    在近日举办的博鳌亚洲论坛全球健康论坛第三届大会中,博鳌亚洲论坛咨委、新西兰前总理珍妮·希普利在接受媒体采访时表示,自己来华超过100次,免签的消息令人兴奋,同时自己喜欢品尝中国美食,她觉得免签让来华的外国人有福了。 她表示,中国美食本身是一个故事,是一场奇遇,华北与华南、华西的饮食习惯大相径庭。外国人可以吃遍中国,体验最精致的冷热美食。相比西餐的可预测,中餐…

    2024年7月19日
  • #中石化等在内蒙古成立油气开发公司# 注册资本20亿

    天眼查App显示,近日,中石化(内蒙古)石油天然气勘探开发有限公司成立,法定代表人为吴亮,注册资本20亿人民币,经营范围含地质勘查技术服务、石油天然气技术服务、新兴能源技术研发、新材料技术研发、太阳能发电技术服务、风力发电技术服务等。股东信息显示,该公司由中国石化和内蒙古地质矿产集团有限公司分别持股51%、49%。 天眼查信息:https://www.tia…

    2024年7月29日

发表回复

您的电子邮箱地址不会被公开。 必填项已用*标注

联系我们

邮件:939297903@qq.com

工作时间:周一至周五,9:30-18:30,节假日休息

关注微信