网红铁头关联公司已注销

#铁头关联公司商标申请均被驳回##网红铁头惩恶扬善已被抓#

据报道,有网友发帖称,网红“铁头惩恶扬善”已被警方抓获,并晒出一张杭州市公安局滨江区分局的扣押决定书。记者从杭州警方处获悉,铁头确已被控制,相关案件正在侦办中。

网红铁头关联公司已注销

网红铁头关联公司已注销

网红铁头关联公司已注销

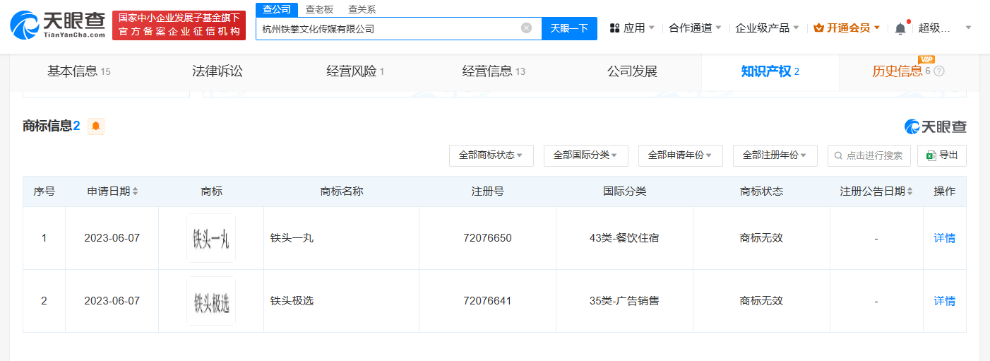
天眼查App显示,铁头姐姐董某关联的杭州铁拳文化传媒有限公司已于去年10月注销。该公司成立于2023年6月,注册资本50万人民币,经营范围含个人商务服务、文化娱乐经纪人服务、互联网销售、互联网直播技术服务等。变更记录显示,去年7月,董某某(铁头)卸任该公司法定代表人、执行董事、经理、财务负责人,并退出股东行列,改由其姐姐董某担任上述职务并全资持股。知识产权信息显示,该公司曾申请“铁头一丸”“铁头极选”商标,当前商标申请均被驳回,处于无效状态。

天眼查信息:https://www.tianyancha.com/company/6220540113/zhishi

本文来自投稿,不代表创造权威IP 赋能创业者——IP百创立场,如若转载,请注明出处:创造权威IP 赋能创业者——IP百创

(0)
打赏 微信扫一扫 微信扫一扫 支付宝扫一扫 支付宝扫一扫
上一篇 2024年8月28日
下一篇 2024年8月28日

相关推荐

  • 极米、坚果“扯头花”,便宜了“小弟们”?

    极米、坚果的一场口水战,或许只是投影仪新战事的序曲。

    2023年6月6日
  • 豪掷12亿补贴“催生”!飞鹤的增长焦虑止不住了?

    人口出生率持续下降,飞鹤下场“催生”。近期,中国飞鹤宣布,于4月初开始在全国范围内启动总规模为12亿元的飞鹤生育补贴计划,为全国范围内符合条件的孕期家庭提供不少于1500元的生育补贴。 从表面看,这似乎是飞鹤紧跟国家鼓励生育政策步伐,展现企业担当的义举,但深入剖析,背后隐藏着复杂且现实的商业逻辑。 根据国家统计局消息,2024年出生人口954万,同比增长约6…

    2025年4月16日
  • 大悦城换帅完成工商变更

    #姚长林任大悦城董事长# 天眼查App显示,近日,大悦城发生工商变更,陈朗卸任公司董事长,由姚长林接任,同时多位董事发生变更。目前,陈朗仍担任董事一职。 大悦城控股集团股份有限公司成立于1993年10月,法定代表人为姚长林,注册资本约42.86亿人民币,由明毅有限公司、中粮集团有限公司、中央汇金资产管理有限责任公司等共同持股。据媒体报道,6月28日,大悦城发…

    2024年7月26日
  • 步步高增资至8.4亿

    天眼查App显示,近日,*ST步高发生工商变更,注册资本由约7.79亿人民币增至约8.4亿人民币。 步步高商业连锁股份有限公司成立于2003年12月,法定代表人为王填,经营范围含超级市场零售,百货零售,广告制作、经营,提供商业咨询服务,经营商品和技术的进出口业务,仓储保管,商品配送等。股东信息显示,该公司由步步高股份破产企业财产处置专用账户、湘潭产投产兴并购…

    2024年8月23日
  • 脚踩鸭肠工厂及负责人被罚6万

    #脚踩鸭肠涉事两工厂均被罚# 天眼查经营风险信息显示,近日,山东雅士享肉类食品有限公司因未按照国家规定的操作规程和技术要求屠宰畜禽,被滨州市沾化区农业农村局罚款5万元,同时该公司法定代表人张旭被罚款1万元。 此前,有媒体暗访该公司及清丰县永官食品有限公司,发现鸭肠随意堆放在地上,清洗地面的脏水混在鸭肠中,工人直接用脚踩洗鹅肠鸭肠,甚至还有工人将从污水中捞出的…

    2024年7月16日

发表回复

您的电子邮箱地址不会被公开。 必填项已用*标注

联系我们

邮件:939297903@qq.com

工作时间:周一至周五,9:30-18:30,节假日休息

关注微信