蔚来申请注册小乐GPT商标

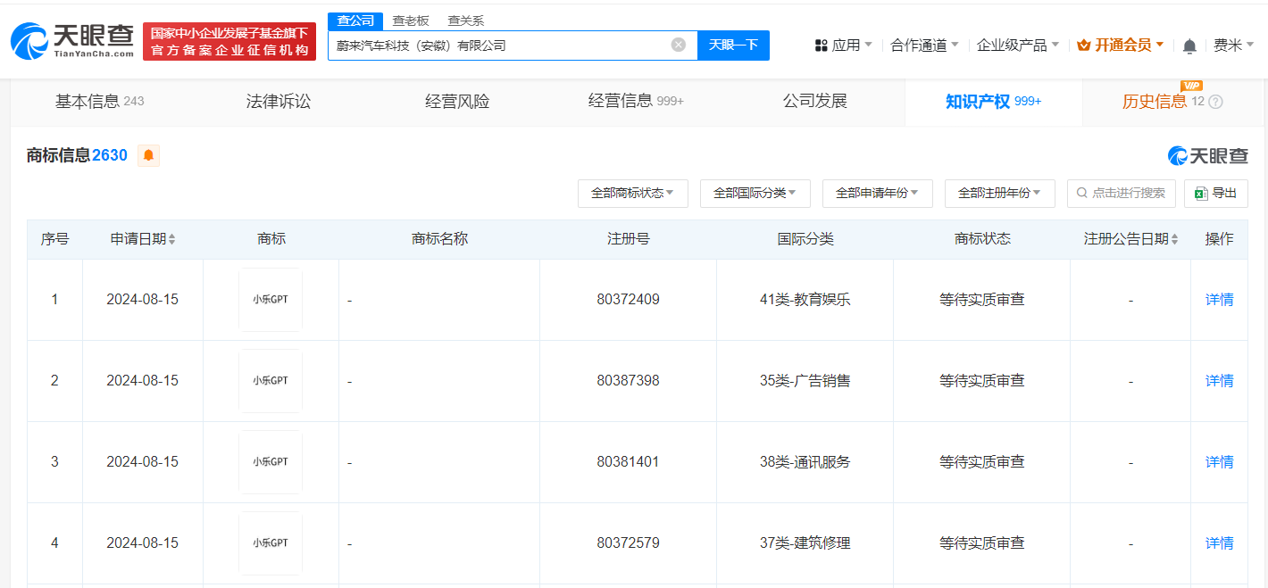
天眼查知识产权信息显示,近日,蔚来汽车科技(安徽)有限公司申请注册四枚“小乐GPT”商标,国际分类为广告销售、通讯服务、建筑修理和教育娱乐,当前商标状态均为等待实质审查。

蔚来申请注册小乐GPT商标

蔚来申请注册小乐GPT商标

天眼查信息:https://www.tianyancha.com/company/3467033676/zhishi

本文来自投稿,不代表创造权威IP 赋能创业者——IP百创立场,如若转载,请注明出处:创造权威IP 赋能创业者——IP百创

(0)
打赏 微信扫一扫 微信扫一扫 支付宝扫一扫 支付宝扫一扫
上一篇 2024年8月30日
下一篇 2024年8月30日

相关推荐

  • 董宇辉公司获广电节目制作许可

    #董宇辉公司广电节目制作许可获批# 天眼查App显示,近日,与辉同行(北京)科技有限公司新增广播电视节目制作经营许可证,许可内容为其他机构首次申请广播电视节目制作经营许可证审批。 该公司成立于2023年12月,法定代表人、执行董事、经理为董宇辉,监事为俞敏洪,经营范围包括广播电视节目制作经营、演出经纪、营业性演出、旅游业务、日用百货销售等,由北京新东方迅程网…

    2024年7月1日
  • 会馆养殖黄鱼菜品谎称野生被罚40万

    #北京一会馆菜品谎称野生黄鱼被罚# 天眼查经营风险信息显示,近日,北京东方国际戏剧文化艺术中心有限公司因作出虚假或者引人误解的商业宣传,被北京市东城区市场监督管理局罚款40万元。处罚事由显示,该公司进货并制作销售的黄鱼均为养殖黄鱼,并非其宣传的“野生黄鱼”。经询问调查,该公司承认店内黄鱼均由北京易初莲花连锁超市供货、黄鱼岛海洋渔业有限公司养殖。当事人自202…

    2024年7月17日
  • 泛海控股被强制执行17.8亿

    天眼查法律诉讼信息显示,近日,泛海控股股份有限公司新增1则被执行人信息,执行标的17.8亿余元,执行法院为北京市第二中级人民法院。 风险信息显示,泛海控股股份有限公司现存14条被执行人信息,被执行总金额超182亿元。此外,该公司还存在多个股权冻结、限制消费令和终本案件信息。 天眼查信息:https://www.tianyancha.com/company/8…

    2024年7月22日
  • 百度已申请多枚文小言商标

    据报道,9月4日,百度官宣“文心一言”App正式升级为“文小言”,定位百度旗下“新搜索”智能助手。 天眼查App显示,此前,百度在线网络技术(北京)有限公司已申请注册多枚“文小言”商标,国际分类涉及通讯服务、科学仪器、社会服务、广告销售等,当前商标状态多为初审公告。 天眼查信息:https://www.tianyancha.com/company/23289…

    2024年9月5日
  • 贤合庄关联公司经营异常

    天眼查App显示,近日,“贤合庄卤味火锅”关联公司成都市贤合庄品牌管理有限公司因通过登记的住所或者经营场所无法联系,被锦江市场监督管理局列入经营异常名录。 该公司成立于2019年6月,法定代表人为黄忠,注册资本300万人民币,由四川至膳品牌管理有限公司、福建省贤合庄餐饮有限公司分别持股51%、49%。公开信息显示,贤合庄是由演员陈赫、歌手叶一茜与主持人朱桢合…

    2024年9月2日

发表回复

您的电子邮箱地址不会被公开。 必填项已用*标注

联系我们

邮件:939297903@qq.com

工作时间:周一至周五,9:30-18:30,节假日休息

关注微信